LEMON Manuals: Even more car manuals for everyone: 1960-2025
Home >> Ford >> 2009 >> Edge AWD V6-3.5L >> Repair and Diagnosis >> Heating and Air Conditioning >> Receiver Dryer >> Service and Repair
April 5, 2026: LEMON Manuals is launched! Read the announcement.

Receiver Dryer: Service and Repair




Desiccant Bag













Removal and Installation

NOTE: Installation of a new receiver/drier desiccant bag is not required when repairing the A/C system, except when there is physical evidence of contamination from a failed A/C compressor or damage to the receiver/drier desiccant bag. Damage to the receiver/drier desiccant bag includes physical damage to the receiver/drier desiccant bag or moisture contamination. Moisture contamination results only from a complete loss of refrigerant and equalization of the refrigerant system pressure with atmospheric pressure for a period longer than one hour. If even a slight amount of positive refrigerant pressure is present in the system before repairs are carried out, the receiver/drier desiccant bag should not be replaced.

1. Remove the A/C condenser core. For additional information, refer to Condenser Core Service and Repair.

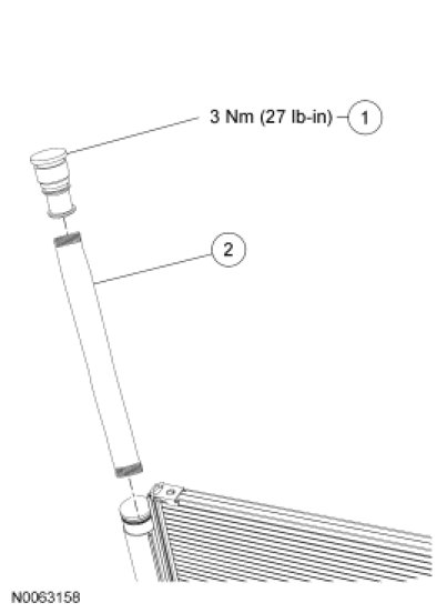
2. Remove the receiver/drier plug.
- To install, tighten to 3 Nm (27 lb-in).

3. Using a suitable tool. Grasp and remove the receiver/drier desiccant bag.

4. To install, reverse the removal procedure.
- Lubricate the O-ring seal on the new receiver/drier plug with clean PAG oil.