LEMON Manuals: Even more car manuals for everyone: 1960-2025
Home >> Ford >> 2009 >> Escape Base, 2.5 7, AWD, Automatic >> Repair and Diagnosis (Single Page) >> Restraints >> Air Bag, SRS >> Supplemental Restraint System >> Diagnosis And Testing >> Symptom Chart >> Pinpoint Test - Occupant Classification System Module (OCSM) >> Pinpoint Test AD: DTC B2909 >> Pinpoint Test Ad: DTC B2909
April 5, 2026: LEMON Manuals is launched! Read the announcement.

Pinpoint Test Ad: DTC B2909

WARNING: Never probe the electrical connectors on air bag, Safety Canopy® or side air curtain modules. Failure to follow this instruction may result in the accidental deployment of these modules, which increases the risk of serious personal injury or death.
WARNING: Never probe the electrical connectors on safety belt buckle/retractor pretensioners or adaptive load limiting retractors. Failure to follow this instruction may result in the accidental deployment of the safety belt pretensioners or adaptive load limiting retractors, which increases the risk of serious personal injury or death.
NOTE: Use the correct probe adapter(s) from the Flex Probe Kit when taking measurements. Failure to use the correct probe adapter(s) may damage the connector. Most faults are due to connector and/or wiring concerns. Carry out a thorough inspection and verification before proceeding with the pinpoint test.
NOTE: Supplemental Restraint System (SRS) components should only be disconnected or reconnected when instructed to do so within a pinpoint test step. Failure to follow this instruction may result in incorrect diagnosis of the SRS.
NOTE: The SRS must be fully operational and free of faults before releasing the vehicle to the customer.
  1. AD1 RETRIEVE OCSM DTCs 
    • Enter the following diagnostic mode on the scan tool: Self Test - OCSM.
    • Enter the following diagnostic mode on the scan tool: DataLogger - OCSM - View and Record All 2909 Fault PIDs. - Refer to PID list in Normal Operation to view 2909 fault PIDs.
    • Do any on-demand 2909 fault PIDs indicate a fault? 
    • Yes:  This fault cannot be cleared until it is corrected and the DTC is no longer retrieved on-demand during self-test.

      For fault PID 2909___31___OD (Front Passenger Side Belt Tension Sensor Circuit Fault), GO to AD2  .

      For fault PID 2909___28___OD (Front Passenger's Side Belt Tension Sensor Short to Battery), GO to  AD8.

      For fault PID2909___30___OD (Front Passenger's Side Belt Tension Sensor Open Circuit), GO to  AD9.

      For fault PID 2909___29___OD (Front Passenger Side Belt Tension Sensor Short to Ground), GO to  AD10.

    • No:  This is an intermittent fault when present as a CMDTC only. The fault condition is not present at this time. GO to  AD14.
  2. AD2 CHECK BTS CIRCUITS FOR A SHORT TO VOLTAGE 
    • Ignition OFF.
    • Depower the SRS. Refer to SUPPLEMENTAL RESTRAINT SYSTEM (SRS) DEPOWERING AND REPOWERING .
    • Disconnect: Passenger Seat Side Air Bag Module C337.
    • Disconnect: Passenger Safety Belt Buckle Pretensioner C3202.
    • Disconnect: BTS C389.
    • Disconnect: OCSM C3285.
    • Repower the SRS. Do not  prove out the SRS at this time. Refer to SUPPLEMENTAL RESTRAINT SYSTEM (SRS) DEPOWERING AND REPOWERING .
    • Ignition ON.
    • Measure the voltage between OCSM:
      • C3285-11, circuit LR142 (YE/BU), harness side and ground.
      • C3285-12, circuit RR142 (GN), harness side and ground.
      Fig 1: Checking BTS Circuits For Short To Voltage
      G06100123Courtesy of FORD MOTOR CO.
    • Is voltage present on either circuit? 
    • Yes:  REPAIR circuit LR142 (YE/BU) or RR142 (GN). GO to  AD15.
    • No:  GO to AD3  .
  3. AD3 CHECK BTS CIRCUITS FOR AN OPEN 
    • Ignition OFF.
      WARNING: Turn the ignition OFF and wait one minute to deplete the backup power supply. Failure to follow this instruction may result in serious personal injury or death in the event of an accidental deployment.
    • Measure the resistance between OCSM C3285, harness side and BTS C389, harness side using the following chart.
      OCSM CONNECTOR PIN REFERENCE

      OCSM-Pin Circuit BTS-Pin
      C3285-11 LR142 (YE/BU) C389-1
      C3285-12 RR142 (GN) C389-3
      - GD183 (BK/WH) C389-2, harness side and ground
      Fig 2: Identifying OCSM C3285 And BTS C389 Connectors
      G06100124Courtesy of FORD MOTOR CO.
    • Are the resistances less than 0.5 ohm? 
    • Yes:  GO to AD4  .
    • No:  REPAIR circuit LR142 (YE/BU), GD183 (BK/WH) or RR142 (GN).

      GO to  AD15.

  4. AD4 CHECK BTS CIRCUITS FOR A SHORT TO GROUND 
    • Measure the resistance between OCSM:
      • C3285-11, circuit LR142 (YE/BU), harness side and ground.
      • C3285-12, circuit RR142 (GN), harness side and ground.
      Fig 3: Checking BTS Circuits For Short To Ground
      G06100125Courtesy of FORD MOTOR CO.
    • Are the resistances greater than 10,000 ohms? 
    • Yes:  GO to AD5  .
    • No:  REPAIR circuit LR142 (YE/BU) or RR142 (GN). GO to  AD15.
  5. AD5 CHECK FOR A SHORT BETWEEN BTS CIRCUITS 
    • Measure the resistance between BTS:
      • C389-1, circuit LR142 (YE/BU), harness side and C389-3, circuit RR142 (GN), harness side.
      • C389-1, circuit LR142 (YE/BU), harness side and C389-2, circuit GD183 (BK/WH), harness side.
      • C389-3, circuit RR142 (GN), harness side and C389-2, circuit GD183 (BK/WH), harness side.
      Fig 4: Identifying BTS C389-1 Connector
      G06100126Courtesy of FORD MOTOR CO.
    • Are the resistances greater than 10,000 ohms? 
    • Yes:  GO to AD6  .
    • No:  REPAIR the affected circuits. GO to  AD11.
  6. AD6 CHECK OCSM OUTPUT 
    • Connect: OCSM C3285.
    • Ignition ON.
    • Measure the voltage between BTS C389-1, circuit LR142 (YE/BU), harness side and C389-2, circuit GD183 (BK/WH), harness side.
      Fig 5: Measuring Voltage Between BTS C389-1 And C389-2
      G06100127Courtesy of FORD MOTOR CO.
    • Is the voltage approximately 5 volts? 
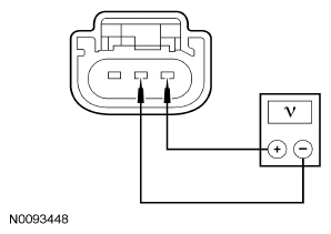
  7. AD7 CHECK BTS VOLTAGE OUTPUT 
    • Ignition OFF.
      WARNING: Turn the ignition OFF and wait one minute to deplete the backup power supply. Failure to follow this instruction may result in serious personal injury or death in the event of an accidental deployment.
    • Connect a fused jumper lead between BTS C389 pin 1, circuit LR142 (YE/BU), harness side and pin 1, circuit LR142 (YE/BU), component side.
    • Connect a fused jumper lead between BTS C389 pin 2, circuit GD183 (BK/WH), harness side and pin 2, circuit GD183 (BK/WH), component side.
    • Ignition ON.
    • Measure the voltage between BTS C389 pin 3, circuit RR142 (GN), component side and ground as the tension of the BTS varies by pulling upward at the safety belt webbing.
      Fig 6: Measuring Voltage Between BTS C389 Pin 3 And Ground
      G06063697Courtesy of FORD MOTOR CO.
    • Does the voltage vary from approximately 0.95 volt with no tension applied to the sensor to approximately 3.8 volts with full tension applied to the sensor? 
  8. AD8 CHECK BTS CIRCUITS FOR A SHORT TO VOLTAGE 
    • Ignition OFF.
      WARNING: Turn the ignition OFF and wait one minute to deplete the backup power supply. Failure to follow this instruction may result in serious personal injury or death in the event of an accidental deployment.
    • Disconnect: BTS C389.
    • Repower the SRS. Do not  prove out the SRS at this time. Refer to SUPPLEMENTAL RESTRAINT SYSTEM (SRS) DEPOWERING AND REPOWERING .
    • Ignition ON.
    • Measure the voltage between BTS:
      • C389-3, circuit RR142 (GN), harness side and ground.
      • C389-1, circuit LR142 (YE/BU), harness side and ground.
      Fig 7: Checking BTS Circuits For Short To Voltage
      G06100129Courtesy of FORD MOTOR CO.
    • Is there approximately 5 volts for C389-1 and no voltage present on C389-3? 
    • Yes:  GO to  AD13.
    • No:  REPAIR circuit RR142 (GN) or LR142 (YE/BU). GO to  AD15.
  9. AD9 CHECK BTS CIRCUIT FOR AN OPEN 
    • Ignition OFF.
      WARNING: Turn the ignition OFF and wait one minute to deplete the backup power supply. Failure to follow this instruction may result in serious personal injury or death in the event of an accidental deployment.
    • Depower the SRS. Refer to SUPPLEMENTAL RESTRAINT SYSTEM (SRS) DEPOWERING AND REPOWERING .
    • Disconnect: BTS C389.
    • Disconnect: OCSM C3285.
    • Measure the resistance between OCSM C3285, harness side and BTS C389, harness side using the following chart.
      OCSM CONNECTOR PIN REFERENCE

      OCSM-Pin Circuit BTS-Pin
      C3285-11 LR142 (YE/BU) C389-1
      C3285-12 RR142 (GN) C389-3
      - GD183 (BK/WH) C389-2, harness side and ground
      Fig 8: Identifying BTS C389 Connector
      G06100124Courtesy of FORD MOTOR CO.
    • Are the resistances less than 0.5 ohm? 
    • Yes:  GO to  AD11.
    • No:  REPAIR circuit RR142 (GN), VR142 (YE/BU) or GD183 (BK/WH). GO to  AD15.
  10. AD10 CHECK BTS CIRCUITS FOR A SHORT TO GROUND 
    • Ignition OFF.
      WARNING: Turn the ignition OFF and wait one minute to deplete the backup power supply. Failure to follow this instruction may result in serious personal injury or death in the event of an accidental deployment.
    • Disconnect: BTS C389.
    • Measure the resistance between BTS:
      • C389-3, circuit RR142 (GN), harness side and ground.
      • C389-1, circuit LR142 (YE/BU), harness side and ground.
      Fig 9: Checking BTS Circuits For Short To Ground
      G06100131Courtesy of FORD MOTOR CO.
    • Are the resistances greater than 10,000 ohms? 
    • Yes:  GO to  AD13.
    • No:  REPAIR circuit RR142 (GN) or LR142 (YE/BU). GO to U515  .
  11. AD11 CHECK OCSM OUTPUT 
    • Connect: OCSM C3285.
    • Ignition ON.
    • Measure the voltage between belt tension sensor C389-1, circuit LR142 (YE/BU), harness side and C389-2, circuit GD183 (BK/WH), harness side.
      Fig 10: Measuring Voltage Between Belt Tension Sensor C389-1 And C389-2
      G06100127Courtesy of FORD MOTOR CO.
    • Is the voltage approximately 5 volts? 
  12. AD12 CHECK BTS VOLTAGE OUTPUT 
    • Ignition OFF.
      WARNING: Turn the ignition OFF and wait one minute to deplete the backup power supply. Failure to follow this instruction may result in serious personal injury or death in the event of an accidental deployment.
    • Connect a fused jumper lead between BTS C389 pin 1, circuit LR142 (YE/BU), harness side and pin 1, circuit LR142 (YE/BU), component side.
    • Connect a fused jumper lead between BTS C389 pin 2, circuit GD183 (BK/WH), harness side and pin 2, circuit GD183 (BK/WH), component side.
    • Repower the SRS. Do not  prove out the SRS at this time. Refer to SUPPLEMENTAL RESTRAINT SYSTEM (SRS) DEPOWERING AND REPOWERING .
    • Ignition ON.
    • Measure the voltage between BTS C389 pin 3, circuit RR142 (GN), component side and ground as the tension of the BTS varies.
      Fig 11: Measuring Voltage Between BTS C389 Pin 3 And Ground
      G06063697Courtesy of FORD MOTOR CO.
    • Does the voltage vary from approximately 0.95 volt with no tension applied to the sensor, to approximately 3.8 volts with full tension applied to the sensor? 
    • Yes:  GO to AD13  .
    • No:  INSTALL a new safety belt retractor assembly. REFER to SAFETY BELT SYSTEM . GO to  AD15.
  13. AD13 CONFIRM THE BTS FAULT 
    NOTE: Make sure all OCS system components, restraint system sensor electrical connectors and the RCM electrical connectors are connected before carrying out the self-test. If not, DTCs will be recorded.
    • Ignition OFF.
    • Depower the SRS. Refer to SUPPLEMENTAL RESTRAINT SYSTEM (SRS) DEPOWERING AND REPOWERING .
    • Prior to reconnecting any previously disconnected SRS component:
      • inspect connector(s) (including any inline connectors) for pushed-out, loose or spread terminals and loose or frayed wire connections at terminals.
      • inspect wire harness for any damage, pinched, cut or pierced wires.
      • inspect C2041a and C2041b connector position assurance lever/lock for correct operation. Refer to RESTRAINTS CONTROL MODULE (RCM) .
      • repair any concerns found. Refer to SYSTEM WIRING DIAGRAMS - ESCAPE or SYSTEM WIRING DIAGRAMS - MARINER , Connector Repair Procedures for schematic and connector information.
    • Connect: OCSM C3285 (if disconnected previously).
    • Connect: BTS C389.
    • Repower the SRS. Do not  prove out the SRS at this time. Refer to SUPPLEMENTAL RESTRAINT SYSTEM (SRS) DEPOWERING AND REPOWERING .
    • Enter the following diagnostic mode on the scan tool: Self Test - OCSM.
    • Enter the following diagnostic mode on the scan tool: DataLogger - OCSM - View and Record All 2909 Fault PIDs. - Refer to PID list in Normal Operation to view 2909 fault PIDs.
    • Does the original on-demand 2909 fault PID indicate a fault? 
    • Yes:  INSTALL a new OCS system service kit. REFER to OCCUPANT CLASSIFICATION SENSOR - SERVICE KIT . GO to  AD15.
    • No:  In the process of diagnosing the fault, the fault condition has become intermittent. Do not install any new SRS components at this time. SRS components should only be installed when directed to do so in the pinpoint test  . GO to AD14  .
  14. AD14 CHECK FOR AN INTERMITTENT FAULT 
    • Ignition OFF.
    • Disconnect BTS C389:
      • inspect connector(s) (including any inline connectors) for loose or spread terminals and loose or frayed wire connections at terminals.
      • inspect wire harness for any damage, pinched, cut or pierced wires.
      • repair any concerns found. Refer to SYSTEM WIRING DIAGRAMS - ESCAPE or SYSTEM WIRING DIAGRAMS - MARINER , Connector Repair Procedures for schematic and connector information.
    • Connect: All Previously Disconnected Component(s)/Connector(s).
    • Enter the following diagnostic mode on the scan tool: Self Test - OCSM.
    • Enter the following diagnostic mode on the scan tool: DataLogger - OCSM - View and Record All 2909 Fault PIDs. - Refer to PID list in Normal Operation to view 2909 fault PIDs.
    • Do any on-demand 2909 fault PIDs indicate a fault? 
    • Yes:  This is a hard fault. The fault condition is now present. This fault cannot be cleared until it is corrected and the DTC is no longer retrieved on-demand during self-test.

      Using the on-demand fault PIDs recorded, GO to the PINPOINT TEST - Restraints Control Module (RCM) .

      For fault PID 2909___31___OD (Front Passenger Side Belt Tension Sensor Circuit Fault), GO to  AD2.

      For fault PID 2909___28___OD (Front Passenger's Side Belt Tension Sensor Short to Battery), GO to  AD8.

      For 2909___30___OD (Front Passenger's Side Belt Tension Sensor Open Circuit), GO to  AD9.

      For fault PID 2909___29___OD (Front Passenger Side Belt Tension Sensor Short to Ground), GO to  AD10.

    • No:  CHECK for causes of the intermittent fault. ATTEMPT to recreate the hard fault by flexing the wire harness and cycling the ignition frequently. ACTIVATE other systems in the same wire harness. Do not install any new SRS components at this time. SRS components should only be installed when directed to do so in the pinpoint test  . REPAIR any intermittent wiring, terminal or connector concerns found. GO to AD15  .
  15. AD15 CHECK FOR ADDITIONAL SRS DTCs 
    • Ignition OFF.
      WARNING: Turn the ignition OFF and wait one minute to deplete the backup power supply. Failure to follow this instruction may result in serious personal injury or death in the event of an accidental deployment.
    • Reconnect all SRS components (if previously disconnected).
    • If previously directed to depower the SRS, repower the SRS. Do not  prove out the SRS at this time. Refer to SUPPLEMENTAL RESTRAINT SYSTEM (SRS) DEPOWERING AND REPOWERING .
    • Ignition ON.
    • Enter the following diagnostic mode on the scan tool: Self Test - Restraints.
      NOTE: When selecting Restraints from the Self Test menu, DTCs will be retrieved from the RCM and OCSM.
    • Are any RCM and/or OCSM DTCs retrieved? 
    • Yes:  Do not clear any DTCs until all DTCs have been resolved. GO to the DTC CHARTS  for pinpoint test direction.
    • No:  CLEAR all RCM and OCSM DTCs. PROVE OUT the SRS. Repair is complete. RETURN the vehicle to the customer.