LEMON Manuals: Even more car manuals for everyone: 1960-2025
Home >> Ford >> 2009 >> Focus SEL, Standard >> Repair and Diagnosis >> Brakes >> Traction Control >> Anti-Lock Brake System - Vehicle Dynamic Systems >> Removal And Installation >> Anti-Lock Brake System (ABS) Module >> Notes
April 5, 2026: LEMON Manuals is launched! Read the announcement.

Anti-Lock Brake System (ABS) Module: Notes

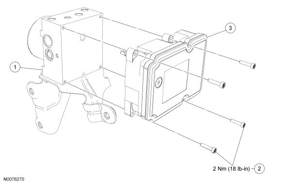
Fig 1: Anti-Lock Brake System (ABS) Module With Torque Specification
GF0043278Courtesy of FORD MOTOR CO.
Item Part Number Description
1 2C286 Hydraulic control unit (HCU)
2 2M101 ABS module screws (4 required)
3 2C013 ABS module