LEMON Manuals: Even more car manuals for everyone: 1960-2025
Home >> Ford >> 2009 >> Ranger 2WD L4-2.3L >> Repair and Diagnosis >> Relays and Modules >> Relays and Modules - Brakes and Traction Control >> Electronic Brake Control Module >> Service and Repair
April 5, 2026: LEMON Manuals is launched! Read the announcement.

Electronic Brake Control Module: Service and Repair




Anti-Lock Brake System (ABS) Module









Removal and Installation

1. Remove the Hydraulic Control Unit (HCU). For additional information, refer to Hydraulic Control Unit (HCU) Service and Repair.

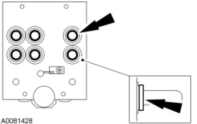
2. NOTE: The ABS module bolts must be removed and installed in the sequence shown.

Remove the 4 ABS module bolts in the sequence shown.

- To install, tighten to 3 Nm (27 lb-in).





3. NOTICE: When the anti-lock brake system (ABS) module is separated from the Hydraulic Control Unit (HCU), the motor terminals and the valve stems will be exposed. Protect the terminals and the valve stems from damage.

Remove the ABS module from the HCU.

4. Remove and discard the O-ring seals.





5. Remove and discard the ABS module seal.





6. NOTICE: All components must be free of dust, oil, fluid and foreign material prior to installation. A new seal kit must be used when installing the anti-lock brake system (ABS) module. The old seals must be discarded as they may cause a leak between the ABS module and the Hydraulic Control Unit (HCU).

NOTE: The new O-ring seals must be installed to the valve flange. Make sure the O-ring seals are not deformed when installed.

NOTE: Clean the groove of the ABS module before installing a new seal.

To install, reverse the removal procedure.