LEMON Manuals: Even more car manuals for everyone: 1960-2025
Home >> Ford >> 2009 >> Taurus SE >> Repair and Diagnosis >> External Pages >> Different car >> Section 1378 (HVAC Climate Control System) >> Removal And Installation >> Climate Control Assembly >> Removal And Installation
April 5, 2026: LEMON Manuals is launched! Read the announcement.

Removal And Installation

WARNING: This page is about a different car, the 2009 Mercury Grand Marquis and 2009 Ford Crown Victoria. However, it is still accessible from the selected car via links, so may be relevant.
  1. Depower the supplemental restraint system (SRS). For additional information, refer to Supplemental Restraint System (SRS) Depowering and Repowering in the General Procedures portion of SUPPLEMENTAL RESTRAINT SYSTEM article.
  2. Detach the finish panel.
  3. Fig 1: Finish Panel
    GF0014383Courtesy of FORD MOTOR CO.
  4. Disconnect the electrical connector.
  5. Fig 2: Finish Panel Electrical Connector
    GF0014384Courtesy of FORD MOTOR CO.
  6. Reposition the climate control assembly.
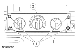
    1. Remove the 4 climate control assembly screws.
    2. Position the climate control assembly rearward.
  7. Fig 3: Climate Control Assembly Screws
    GF0014385Courtesy of FORD MOTOR CO.
  8. Remove the climate control assembly.
    1. Disconnect the electrical connectors.
    2. Disconnect the vacuum connector and remove the climate control assembly.
  9. Fig 4: Climate Control Assembly Connectors
    GF0014386Courtesy of FORD MOTOR CO.
  10. To install, reverse the removal procedure.