LEMON Manuals: Even more car manuals for everyone: 1960-2025
Home >> Ford >> 2010 >> E 250 V8-5.4L >> Repair and Diagnosis >> Specifications >> Mechanical Specifications >> Engine >> Cylinder Head Assembly
April 5, 2026: LEMON Manuals is launched! Read the announcement.

Cylinder Head Assembly

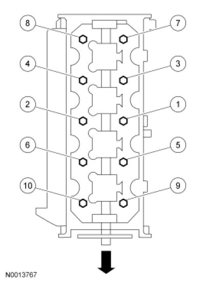
Cylinder Head

NOTE: LH shown, RH similar.

Tighten the 20 bolts in 3 stages, in the sequence shown.
Stage 1: Tighten to 40 Nm (30 lb-ft).
Stage 2: Tighten an additional 90 degrees.
Stage 3: Tighten an additional 90 degrees.





Bolt re-usability

NOTE: The cylinder head bolts must be discarded and new bolts installed. They are a torque-to-yield design and cannot be reused.

Surface Variation -- Head-to-block, Head-to-manifolds And Surface Variation -- Warpage













a Time required for the plunger to leak down 1.6 mm of travel with 222 N force and leak-down fluid in the lash adjuster.
b Full indicator measurement on all journals when supported on front and rear journals (4 places).

Camshaft Bearing Cap

NOTE: LH shown, RH similar.

Tighten the 13 bolts in the sequence shown.
Tighten to 10 Nm (89 lb-in).






Intake Manifold Specifications

Exhaust Manifold Specifications