LEMON Manuals: Even more car manuals for everyone: 1960-2025
Home >> Ford >> 2010 >> Focus L4-2.0L >> Repair and Diagnosis >> Relays and Modules >> Relays and Modules - Brakes and Traction Control >> Electronic Brake Control Module >> Service and Repair
April 5, 2026: LEMON Manuals is launched! Read the announcement.

Electronic Brake Control Module: Service and Repair




Anti-Lock Brake System (ABS) Module













Removal and Installation

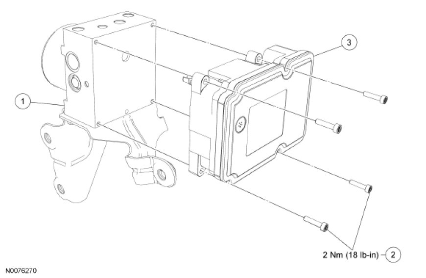
1. Remove the Hydraulic Control Unit (HCU). For additional information, refer to Hydraulic Control Unit (HCU) Service and Repair.

2. Remove the 4 ABS module-to-HCU screws and the ABS module.
- To install, tighten to 2 Nm (18 lb-in).

3. To install, reverse the removal procedure.
- For vehicles equipped with AdvanceTrac(R), carry out the IVD Initialization sequence. Follow the scan tool directions.