LEMON Manuals: Even more car manuals for everyone: 1960-2025
Home >> Ford >> 2010 >> Ranger 2WD L4-2.3L >> Repair and Diagnosis >> Powertrain Management >> Computers and Control Systems >> Clutch Switch >> Service and Repair
April 5, 2026: LEMON Manuals is launched! Read the announcement.

Clutch Switch: Service and Repair




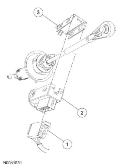
Clutch Pedal Position (CPP) Switch









Removal and Installation

1. Disconnect the Clutch Pedal Position (CPP) switch electrical connector.

2. Spread the CPP switch apart. Remove from the pedal rod.

3. To install, reverse the removal procedure.