LEMON Manuals: Even more car manuals for everyone: 1960-2025
Home >> Ford >> 2011 >> Edge AWD V6-3.7L >> Repair and Diagnosis >> Body and Frame >> Locks >> Power Locks >> Power Door Lock Switch >> Testing and Inspection
April 5, 2026: LEMON Manuals is launched! Read the announcement.

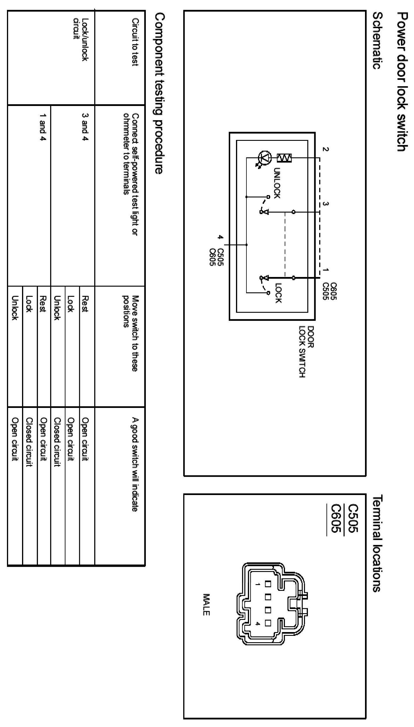
Power Door Lock Switch: Testing and Inspection