LEMON Manuals: Even more car manuals for everyone: 1960-2025
Home >> Ford >> 2011 >> Escape 4WD L4-2.5L >> Repair and Diagnosis >> Body and Frame >> Mirrors >> Power Mirror Switch >> Testing and Inspection
April 5, 2026: LEMON Manuals is launched! Read the announcement.

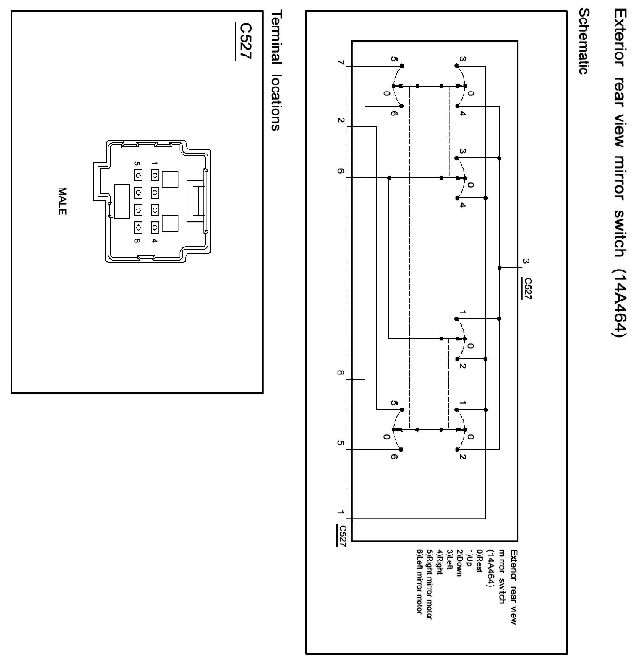
Power Mirror Switch: Testing and Inspection