LEMON Manuals: Even more car manuals for everyone: 1960-2025
Home >> Ford >> 2011 >> Escape Base, 2.5 7, AWD, Automatic >> Repair and Diagnosis >> External Pages >> Different variant/trim >> Section 17 (Manual Transaxle) >> Disassembly And Assembly Of Subassemblies >> Differential - 4WD >> Assembly
April 5, 2026: LEMON Manuals is launched! Read the announcement.

Differential - 4WD: Assembly

WARNING: This page is about a different variant/trim than selected.
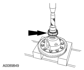
  1. Using a suitable press, install a new differential side bearing. Only use the inner bearing race to install.
    Fig 1: Installing Differential Side Bearing
    G06098300Courtesy of FORD MOTOR CO.
  2. Install the VSS  drive gear.
  3. Install the spacer.
  4. Using a suitable press, install a new differential side bearing. Only use the inner bearing race to install.
    Fig 2: Locating Differential Side Bearing
    G06098301Courtesy of FORD MOTOR CO.
  5. Install the final drive gear.
  6. Install the 10 final drive gear bolts.
    • Tighten in the sequence shown in illustration to 120 Nm (89 lb-ft).
    Fig 3: Identifying Final Drive Gear Bolts Tightening Sequence
    G06098302Courtesy of FORD MOTOR CO.
  7. Install the reduction gear.
  8. Install the 10 reduction gear bolts.
Fig 4: Identifying Reduction Gear Bolts Tightening Sequence
G06098313Courtesy of FORD MOTOR CO.