LEMON Manuals: Even more car manuals for everyone: 1960-2025
Home >> Ford >> 2011 >> Escape Base, 2.5 7, AWD, Standard >> Repair and Diagnosis >> Transmission >> Manual Trans >> Manual Transaxle >> Disassembly And Assembly Of Subassemblies >> Transaxle >> Material
April 5, 2026: LEMON Manuals is launched! Read the announcement.

Disassembly And Assembly Of Subassemblies: Transaxle: Material

MATERIAL SPECIFICATIONS

Item Specification
Silicone Gasket and Sealant TA-30 WSE-M4G323-A4
Fig 1: Exploded View Of Transaxle Components
G06098318Courtesy of FORD MOTOR CO.
ITEM DESCRIPTION CHART

Item Part Number Description
1 7F096 Clutch housing
2 7048 Input shaft oil seal
3 1S177 RH intermediate shaft oil seal
4 - Funnel
5 7065 Mainshaft bearing
6 7A284 Mainshaft bearing retainer
7 99784 Mainshaft bearing retainer bolt
8 - Differential side bearing outer race
9 - Differential assembly
10 - Mainshaft assembly
11 - Input shaft assembly
12 - Reverse gear idler shaft assembly
13 7C114 1st/2nd gear shift fork
14 7328 1st/2nd gear shift rod
15 0414 1st/2nd gear shift fork roll pin
16 7K130 1st/2nd gear shift finger
17 0414 1st/2nd gear shift finger roll pin
18 - 1st/2nd gear check sleeve
19 7K131 3rd/4th gear shift finger
20 7230 3rd/4th gear shift fork
21 7326 3rd/4th gear shift rod
22 4097 Circlips (2 required)
23 0414 3rd/4th gear shift finger roll pin
24 - 3rd/4th gear shift roll pin
25 7D105 Interlock pins (2 required)
26 7K001 5th/reverse gear bracket
27 7L044 5th/reverse gear shift rod
28 4097 Circlips (2 required)
29 7F470 5th gear shift fork
30 0414 5th gear shift roll pin
31 7L063 Reverse gear shift fork
32 7B112 Reverse gear shift fork rod
33 0414 Shifter cap
34 - Reverse lever bracket
35 - Reverse lever bracket bolt (2 required)
36 7L027 Magnet
37 1S177 LH halfshaft oil seal
38 6K277 Plug
39 3C362 Differential side bearing adjustment shim
40 - Differential side bearing outer race
41 7L172 Mainshaft adjustment shim
42 - Mainshaft snap ring
43 7013 Input shaft adjustment shim
44 - Reverse idler gear adjustment shim
45 7L276 Oil gutter
46 7L276 Baffle plate
47 7005 Transaxle case
48 - Bore plug
49 99784 Transaxle case-to-clutch housing bolts (20 required)
50 7A082 Check balls (3 required)
51 - 5th/Reverse gear shift check sleeve
52 7A082 Spring (yellow)
53 7A082 Spring (blue)
54 7A082 Spring (white)
55 99784 Check plug (internal hex)
56 99784 Check plugs (external hex) (2 required)
57 7288 O-ring seal
58 7F116 Shift assembly
59 99784 Shift assembly bolt (4 required)
60 - Stopper bolt
61 - Shift check bolt
62 7034 Breather
63 15520 Reverse switch
64 - Fill plug
65 3972 Washers
66 7E380 Fluid level check
67 - Drain plug
68 - Plug
NOTE: Assembly should only be carried out in a clean environment or damage to the transaxle may occur.
NOTE: Be careful not to scratch the sliding face or mating faces or damage to the transaxle may occur.
NOTE: Visually inspect all parts for any damage, deformation or abnormal wear. Install new parts only if unsuitable or damage to the transaxle may occur.
NOTE: Do not work on the transaxle with cotton gloves. Cotton threads could become dislodged and damage to the transaxle may occur.
NOTE: Install all new retaining pins, oil seals, and bearings or damage to the transaxle may occur.
NOTE: Make sure to clean the old sealant from the mating threads of any sealed bolt or damage to the transaxle may occur.
  1. Using the Oil Seal Installer with the Handle, install a new input shaft oil seal.
    Fig 2: Installing Input Shaft Oil Seal Using Special Tools
    G06098319Courtesy of FORD MOTOR CO.
  2. Using the Output Shaft Seal Installer, install a new RH intermediate shaft oil seal.
    Fig 3: Installing RH Intermediate Shaft Oil Seal Using Special Tool
    G06098320Courtesy of FORD MOTOR CO.
  3. Install the funnel.
  4. Install the mainshaft bearing.
  5. Install the mainshaft bearing retainer and bolt.
    • Tighten to 7 Nm (62 lb-in).
  6. NOTE: Do not exceed 120°C (248°F) or damage to the clutch housing may occur.
  7. Heat the clutch housing to 100°C (212°F) and install a new differential side bearing outer race.
  8. Install the differential assembly.
  9. NOTE: Make sure to install the mainshaft straight in. Failure to install the mainshaft correctly may result in damage to the funnel on the clutch housing.
  10. Install the input shaft assembly, mainshaft assembly and reverse gear idler shaft assembly as a set.
  11. Install the 1st/2nd gear shift fork.
  12. Install the 1st/2nd gear shift rod.
  13. Install a new 1st/2nd gear shift fork roll pin.
  14. Install the 1st/2nd gear shift finger.
  15. Install a new 1st/2nd gear shift finger roll pin.
  16. Install the 1st/2nd gear check sleeve (pin).
  17. Install the 3rd/4th gear shift finger.
  18. Install the 3rd/4th gear shift fork.
  19. Install the 3rd/4th gear shift rod.
  20. Install 2 new circlips.
    Fig 4: Locating Circlips And 5th Gear Shift Fork
    G06098228Courtesy of FORD MOTOR CO.
  21. Install a new 3rd/4th gear shift finger roll pin.
  22. Install the 3rd/4th gear shift rod roll pin.
  23. Install the 2 steel balls and the interlock pin.
  24. Install the 5th/reverse gear bracket.
  25. Install the 5th/reverse gear shift rod.
  26. Install the 5th gear shift fork.
  27. Install 2 new circlips.
    Fig 5: Locating Circlips And 5th Gear Shift Fork Roll Pin
    G06098227Courtesy of FORD MOTOR CO.
  28. Install a new 5th gear shift fork roll pin.
  29. Install the reverse gear shift fork.
  30. Install the reverse gear shift fork rod.
  31. Install the shifter cap.
  32. Lift the reverse gear shift fork and insert the cam part of the 5th/reverse gear bracket into the reverse level bracket.
    Fig 6: Removing Reverse Gear Shift Fork
    G06098323Courtesy of FORD MOTOR CO.
  33. Install the reverse lever bracket bolts.
    • Tighten to 14 Nm (124 lb-in).
  34. Install the magnet.
  35. Install a new LH halfshaft oil seal.
  36. Install a new plug.
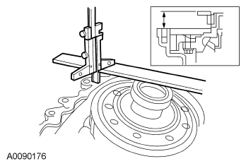
  37. Using a depth micrometer and a straightedge, measure and record the depth from the mating surface of the transaxle case to the differential side bearing adjustment shim mounting surface. Record this measurement as L1.
    Fig 7: Measuring Depth From Mating Surface Of Transaxle Case To Differential Side Bearing Adjustment Shim Mounting Surface
    G06098324Courtesy of FORD MOTOR CO.
  38. Using a depth micrometer and a straightedge, measure and record the depth from the mating surface of the clutch housing to the differential side bearing outer race outer surface. Record this measurement as L2.
    • Install the differential side bearing outer race on the differential bearing.
    • Holding the outer race in position using hand pressure, rotate the differential 5 times to seat the bearing races.
    Fig 8: Measuring Depth From Mating Surface Of Clutch Housing To Differential Side Bearing Outer Race Outer Surface
    G06098325Courtesy of FORD MOTOR CO.
  39. NOTE: Do not use more than 2 shims to achieve the desired shim thickness.
    NOTE: Shims are available in thicknesses from 0.48-0.92 mm (0.018-0.036 in) in 0.04 mm (0.001 in) increments.
  40. Select the shims to allow a preload of 0.15-0.21 mm (0.005-0.008 in) using the following formula: shim thickness = (L1-L2) + preload.
  41. Install the differential side bearing adjustment shim.
  42. NOTE: Do not exceed 120°C (248°F) or damage to the transaxle case may occur.
  43. Heat the transaxle case to 100°C (212°F) and install a new differential side bearing outer race.
  44. Temporarily install the mainshaft, mainshaft bearing and circlip.
  45. Temporarily assemble the transaxle case.
  46. Temporarily install and tighten the transaxle case bolts
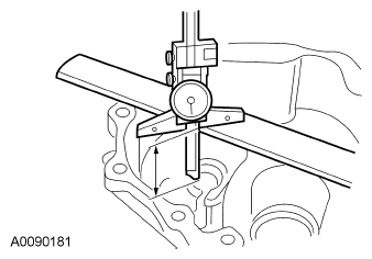
  47. Using the Dial Indicator Gauge with Holding Fixture, measure and record the depth of the transaxle case to the mainshaft bearing surface when the circlip is expanded and mainshaft is raised to contact the transaxle case.
    Fig 9: Measuring Depth Of Transaxle Case To Mainshaft Bearing Surface Circlip And Mainshaft To Contact Transaxle Case
    G06098326Courtesy of FORD MOTOR CO.
  48. Release the circlip and allow the mainshaft to lower and engage the circlip. Measure and record the depth of the transaxle case to the mainshaft bearing surface.
  49. NOTE: Do not use more than one shim to achieve the desired shim thickness.
    NOTE: Shims are available in thicknesses from 0.44-1.08 mm (0.017-0.042 in) in 0.04 mm (0.001 in) increments.
  50. Select the correct shim to allow an end play of 0.00-0.06 mm (0.00-0.0024 in).
  51. Remove the transaxle case.
  52. Install the mainshaft adjustment shim.
  53. Install a new mainshaft snap ring.
  54. Using a depth micrometer and a straightedge, measure and record the depth from the mating surface of the transaxle case to the input shaft adjustment shim mounting surface. Record this measurement as L1.
    Fig 10: Measuring Depth From Mating Surface Of Transaxle Case To Input Shaft Adjustment Shim Mounting Surface
    G06098327Courtesy of FORD MOTOR CO.
  55. Using a depth micrometer and a straightedge, measure and record the depth from the mating surface of the clutch housing to the input shaft bearing outer race outer surface. Record this measurement as L2.
    Fig 11: Measuring Depth From Mating Surface Of Clutch Housing To Input Shaft Bearing Outer Race Outer Surface
    G06098328Courtesy of FORD MOTOR CO.
  56. NOTE: Do not use more than one shim to achieve the desired shim thickness.
    NOTE: Shims are available in thicknesses from 0.40-1.72 mm (0.015-0.067 in) in 0.04 mm (0.001 in) increments.
  57. Select the shims to allow an end play of 0.00-0.06 mm (0.00-0.002 in) using the following formula: shim thickness = (L1-L2) - end play.
  58. Install the input shaft adjustment shim.
  59. Using a depth micrometer and a straightedge, measure and record the depth from the mating surface of the transaxle case to the reverse idler shaft adjustment shim mounting surface. Record this measurement as L1.
    Fig 12: Measuring Depth From Mating Surface Of Transaxle Case To Reverse Idler Shaft Adjustment Shim Mounting Surface
    G06098329Courtesy of FORD MOTOR CO.
  60. Using a depth micrometer and a straightedge, measure and record the depth from the mating surface of the clutch housing to the reverse idler shaft bearing surface. Record this measurement as L2.
    Fig 13: Measuring Depth From Mating Surface Of Clutch Housing To Reverse Idler Shaft Bearing Surface
    G06098330Courtesy of FORD MOTOR CO.
  61. NOTE: Do not use more than one shim to achieve the desired shim thickness.
    NOTE: Shims are available in thicknesses from 1.76-2.64 mm (0.069-0.103 in) in 0.04 mm (0.001 in) increments.
  62. Select the shims to allow an end play of 0.04-0.14 mm (0.001-0.005 in) using the following formula: shim thickness = (L1-L2) - end play.
  63. Install the reverse idler shaft adjustment shim.
  64. Install the oil gutter.
  65. Install the baffle plate.
  66. Apply a continuous bead of silicone gasket and sealant.
    Fig 14: Identifying Sealant Applying Area Of Silicone Gasket
    G06098331Courtesy of FORD MOTOR CO.
  67. Spread the mainshaft snap ring and install the transaxle case.
  68. Install a new bore plug.
  69. NOTE: The black-colored bolt must be installed new, in the correct position, and tightened to 65 Nm (48 lb-ft).
    Fig 15: Identifying Transaxle Case Bolts
    G06098332Courtesy of FORD MOTOR CO.
  70. Install the standard (silver) transaxle case bolts.
    • Tighten to 52 Nm (38 lb-ft) in a crisscross pattern.
  71. Install the 3 check balls.
  72. Install the 5th/reverse gear shift check sleeve.
  73. Install the springs. Refer to the following table for the correct color and location:
    COLOR REFERENCE CHART

    Color Location
    Yellow 5th/reverse gear shift rod
    Blue 3rd/4th gear shift rod
    White 1st/2nd gear shift rod
  74. Install a new check plug in the 5th/reverse gearshift rod.
  75. Install new check plugs in the 1st/2nd gear shift rod and the 3rd/4th gear shift rod.
  76. Install a new shift assembly O-ring seal.
  77. Install the shift assembly.
  78. Install 4 new shift assembly bolts.
    • Tighten to 7 Nm (62 lb-in).
  79. Install a new stopper bolt.
    • Tighten to 28 Nm (21 lb-ft).
  80. Install a new shift check bolt.
    • Tighten to 24 Nm (18 lb-ft).
  81. Install the reverse switch.
  82. Install the transaxle drain plug, the fill plug, and the fill level inspection plug.