LEMON Manuals: Even more car manuals for everyone: 1960-2025
Home >> Ford >> 2011 >> Escape Hybrid, AWD >> Repair and Diagnosis >> Engine Performance >> Fuel Delivery >> Fuel System - General Information >> General Procedures >> Spring Lock Couplings >> Disconnect
April 5, 2026: LEMON Manuals is launched! Read the announcement.

Spring Lock Couplings: Disconnect

WARNING: Do not smoke, carry lighted tobacco or have an open flame of any type when working on or near any fuel-related component. Highly flammable mixtures are always present and may be ignited. Failure to follow these instructions may result in serious personal injury. 
WARNING: Do not carry personal electronic devices such as cell phones, pagers or audio equipment of any type when working on or near any fuel-related component. Highly flammable mixtures are always present and may be ignited. Failure to follow these instructions may result in serious personal injury. 
WARNING: Before working on or disconnecting any of the fuel tubes or fuel system components, relieve the fuel system pressure to prevent accidental spraying of fuel. Fuel in the fuel system remains under high pressure, even when the engine is not running. Failure to follow this instruction may result in serious personal injury. 
WARNING: Always disconnect the battery ground cable at the battery when working on an evaporative emission (EVAP) system or fuel-related component. Highly flammable mixtures are always present and may be ignited. Failure to follow these instructions may result in serious personal injury. 
NOTE: When reusing liquid or vapor tube connectors, make sure to use compressed air to remove any foreign material from the connector retaining clip area before separating from the tube or damage to the tube or connector retaining clip can occur. Apply clean engine oil to the end of the tube before inserting the tube into the connector.
NOTE: Fuel injection equipment is manufactured to very precise tolerances and fine clearances. It is essential that absolute cleanliness is observed when working with these components or component damage can occur. Always install plugs to any open orifices or tubes.
  1. If servicing a liquid fuel tube spring lock coupling, release the fuel system pressure. For additional information, refer to FUEL SYSTEM PRESSURE RELEASE  in this service information.
  2. Disconnect the battery ground cable. For additional information, refer to BATTERY, BATTERY MOUNTING SYSTEM & BATTERY CABLES article.
  3. Insert the Spring Lock Coupling Disconnect Tool onto the fuel tube and into the spring lock coupling.
    Fig 1: Inserting Spring Lock Coupling Disconnect Tool Onto Fuel Tube And Into Spring Lock Coupling
    G07443100Courtesy of FORD MOTOR CO.
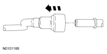
  4. Separate the spring lock coupling from the fuel tube.
Fig 2: Separating Spring Lock Coupling From Fuel Tube
G07443101Courtesy of FORD MOTOR CO.