LEMON Manuals: Even more car manuals for everyone: 1960-2025
Home >> Ford >> 2011 >> Explorer Limited, AWD >> Repair and Diagnosis >> Engine Mechanical >> Mechanical >> Engine System - General Information >> General Procedures >> Piston Pin Diameter >> General Procedure
April 5, 2026: LEMON Manuals is launched! Read the announcement.

General Procedure

NOTE: Refer to general specifications in the appropriate 303-01 engine section for the appropriate specification.

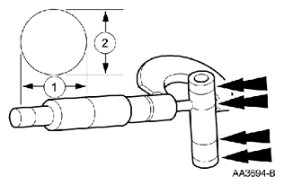
Measure the piston pin diameter in 2 directions at the points shown. Verify the diameter is within specification.

Fig 1: Measuring Piston Pin Diameter
G07420889Courtesy of FORD MOTOR CO.