LEMON Manuals: Even more car manuals for everyone: 1960-2025
Home >> Ford >> 2011 >> Fiesta SES, Standard >> Repair and Diagnosis >> External Pages >> Different car >> Section 52 (Engine Controls - Electronic Engine Controls) >> Removal And Installation >> Engine Control Components - Exploded View >> Crankshaft Position (CKP) Sensor
April 5, 2026: LEMON Manuals is launched! Read the announcement.

Crankshaft Position (CKP) Sensor

WARNING: This page is about a different car, the 2012 Ford Fiesta. However, it is still accessible from the selected car via links, so may be relevant.
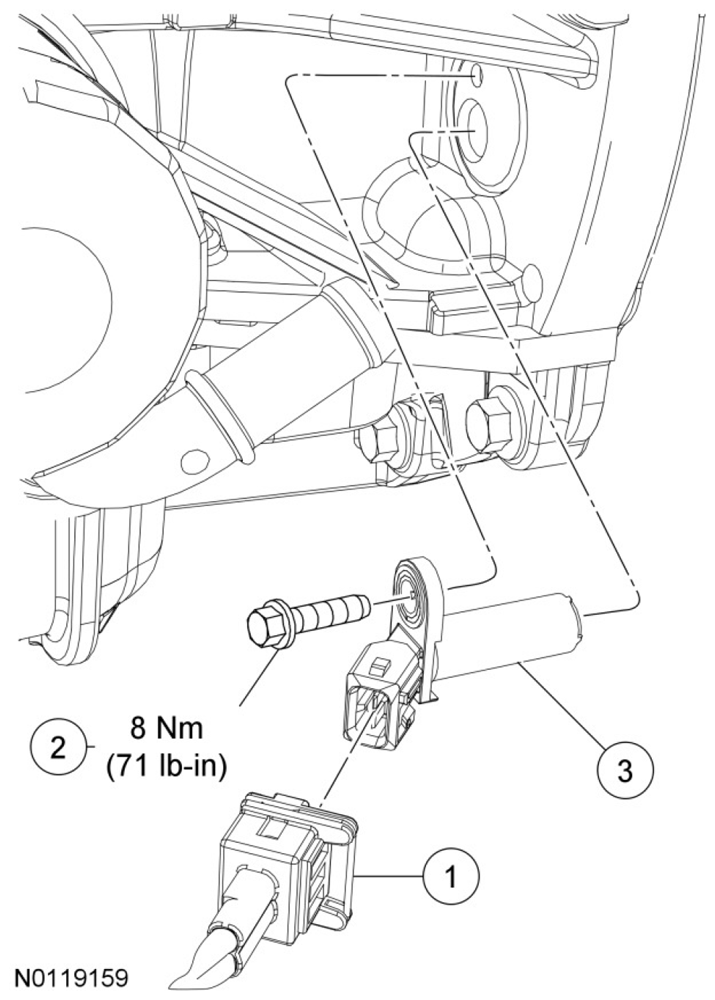
Fig 1: Crankshaft Position Sensor Related Replacement Components With Torque Specifications
G06937978Courtesy of FORD MOTOR CO.
Item Part Number Description
1 - Crankshaft Position (CKP) sensor electrical connector (part of 12B581)
2 W702251 CKP  sensor bolt
3 6C315 CKP  sensor