LEMON Manuals: Even more car manuals for everyone: 1960-2025
Home >> Ford >> 2011 >> Flex SE >> Repair and Diagnosis >> External Pages >> Different car >> Section 1915 (Engine Controls - Electronic Engine Controls) >> Removal And Installation >> Mass Air Flow (MAF) Sensor >> Notes
April 5, 2026: LEMON Manuals is launched! Read the announcement.

Mass Air Flow (MAF) Sensor: Notes

WARNING: This page is about a different car, the 2012 Ford Flex. However, it is still accessible from the selected car via links, so may be relevant.
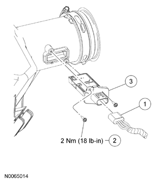
Fig 1: Mass Air Flow Sensor Related Replacement Components With Torque Specifications
G08042659Courtesy of FORD MOTOR CO.
Item Part Number Description
1 14A464 Mass Air Flow (MAF) sensor electrical connector
2 W709287 MAF sensor screw (2 required)
3 12B579 MAF sensor