LEMON Manuals: Even more car manuals for everyone: 1960-2025
Home >> Ford >> 2011 >> Flex Titanium, 3.5 C, AWD >> Repair and Diagnosis (Single Page) >> Transmission >> Automatic Trans >> Automatic Transaxle/Transmission - 6F50-6F55 - General Procedures, In-Vehicle Repair, Removal, Disassembly And Assembly Of Subassemblies, Assembly, Installation >> Disassembly And Assembly Of Subassemblies >> Solenoid Body Assembly >> Notes
April 5, 2026: LEMON Manuals is launched! Read the announcement.

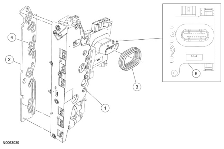
Solenoid Body Assembly: Notes

Fig 1: Identifying Solenoid Body Assembly Components
G07467916Courtesy of FORD MOTOR CO.
PARTS DESCRIPTION CHART

Item Part Number Description
1 7Z369 Solenoid body
2 7H200 Solenoid body filter
3 7B329 Seal - solenoid body electrical connector
4 - Solenoid body filter screen
5 - Leadframe area