LEMON Manuals: Even more car manuals for everyone: 1960-2025
Home >> Ford >> 2011 >> Focus L4-2.0L >> Repair and Diagnosis >> Engine, Cooling and Exhaust >> Engine >> Cylinder Block Assembly >> Piston >> Service and Repair >> Procedures >> Piston Pin Diameter
April 5, 2026: LEMON Manuals is launched! Read the announcement.

Piston Pin Diameter




Piston Pin Diameter

NOTE: Refer to the appropriate Engine - 2.0L for the specification.

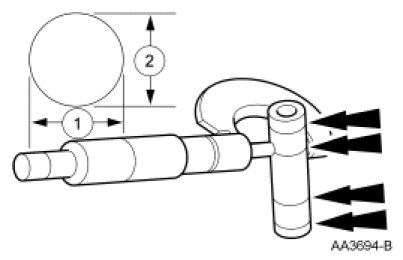
1. Measure the piston pin diameter in 2 directions at the points shown. Verify the diameter is within specification.