LEMON Manuals: Even more car manuals for everyone: 1960-2025
Home >> Ford >> 2011 >> Fusion SEL, 2.5 A >> Repair and Diagnosis (Single Page) >> Transmission >> Automatic Trans >> Automatic Transaxle - 6F35 - General Procedures, In-Vehicle Repair, In-Vehicle Repair, Removal >> In-Vehicle Repair >> Main Control Cover >> Notes
April 5, 2026: LEMON Manuals is launched! Read the announcement.

Main Control Cover: Notes

MATERIAL

Item Specification
Motorcraft® MERCON® LV Automatic Transmission Fluid
XT-10-QLVC
MERCON® LV
Ultra Silicone Sealant
TA-29
-
Fig 1: Exploded View Of Main Control Cover Components With Torque Specifications
G07782678Courtesy of FORD MOTOR CO.
ITEM DESCRIPTION

Item Part Number Description
1 14A464 Transaxle main harness electrical connector
2 9S318 Wiring harness retainer
3 14A163 Wiring harness retainer
4 N805320 Transmission fluid cooler tube nut
5 7H420 Transmission fluid cooler tube bracket
6 W500213 Main control cover bolt
7 W705619 Main control cover studbolt
8 7G004 Main control cover
  1. With the vehicle in NEUTRAL, position it on a hoist. For additional information, refer to JACKING & LIFTING article.
  2. Remove the screws and the underbody cover.
    Fig 2: Locating Underbody Cover Screws
    G07782679Courtesy of FORD MOTOR CO.
  3. Remove the Air Cleaner (ACL) assembly. For additional information, refer to INTAKE AIR DISTRIBUTION & FILTERING - 2.5L FUSION & MILAN (EXCEPT HYBRID)--> article orINTAKE AIR DISTRIBUTION & FILTERING - 3.0L (4V) FUSION & MILAN--> article.
  4. Remove the transmission fluid drain plug and allow the transmission fluid to drain.
    Fig 3: Locating Transmission Fluid Drain Plug
    G07782680Courtesy of FORD MOTOR CO.
  5. Install the transmission fluid drain plug.
    • Tighten to 12 Nm (106 lb-in).
      Fig 4: Locating Transmission Fluid Drain Plug
      G07782681Courtesy of FORD MOTOR CO.
  6. Disconnect the transaxle electrical connector.
    Fig 5: Locating Transaxle Electrical Connector
    G07782682Courtesy of FORD MOTOR CO.
  7. Remove the transaxle electrical wiring harness retainers from the main control cover stud bolts.
    Fig 6: Locating Transaxle Electrical Wiring Harness Retainers
    G07782683Courtesy of FORD MOTOR CO.
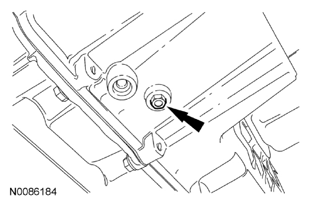
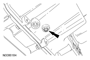
  8. Remove the 2 nuts, pull the transmission fluid cooler tube bracket and tubes away from the transaxle and position it aside.
    Fig 7: Identifying Transmission Fluid Cooler Tube Bracket And Fasteners
    G07782684Courtesy of FORD MOTOR CO.
  9. NOTE: Note the location of the stud bolts for assembly.
    Fig 8: Locating Main Control Cover Bolts And Stud Bolts
    G07782685Courtesy of FORD MOTOR CO.
  10. Remove the 8 bolts, 5 stud bolts and the main control cover.