LEMON Manuals: Even more car manuals for everyone: 1960-2025
Home >> Ford >> 2011 >> Ranger 2WD L4-2.3L >> Repair and Diagnosis >> Heating and Air Conditioning >> Compressor HVAC >> Compressor Clutch >> Service and Repair
April 5, 2026: LEMON Manuals is launched! Read the announcement.

Compressor Clutch: Service and Repair




Clutch and Clutch Field Coil













Removal

All vehicles

1. Remove the A/C compressor. For additional information, refer to Air Conditioning (A/C) Compressor - 2.3L Service and Repair or Air Conditioning (A/C) Compressor - 4.0L Service and Repair.

Vehicles with leaf spring A/C clutch

2. Remove the A/C clutch disc and hub retaining bolt.

1. Hold the A/C clutch disc and hub with the Wrench.

2. Remove the bolt.





3. Remove the A/C clutch disc and hub and the A/C clutch hub spacer.

1. Thread an 8 x 1.25 mm bolt into the A/C clutch disc and hub to force it from the compressor shaft.

2. Lift the A/C clutch disc and hub and the spacer from the compressor shaft.





Vehicles with 3-eye A/C clutch

4. Remove the A/C clutch disc and hub retaining bolt.

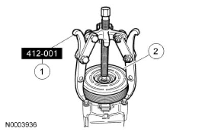
1. Hold the A/C clutch disc and hub with the Compressor Clutch Holding Fixture.

2. Remove the bolt.





5. Remove the A/C clutch disc and hub and the A/C clutch hub spacer.

1. Thread an 8 x 1.25 mm bolt into the A/C clutch disc and hub to force it from the compressor shaft.

2. Lift the A/C clutch disc and hub and the A/C clutch hub spacer from the compressor shaft.





All vehicles

6. Remove the A/C clutch pulley snap ring.





7. Remove the A/C clutch pulley.

1. Install the Compressor Pulley Remover.

2. Remove the A/C clutch pulley.





8. NOTICE: Do not use air tools. The Air Conditioning (A/C) compressor clutch field coil can be easily damaged.

Remove the A/C compressor clutch field coil.

1. Install the A/C Compressor Field Coil Remover on the nose opening of the A/C compressor.

2. Install the Compressor Pulley Remover.

3. Remove the A/C compressor clutch field coil.





Installation

All vehicles

1. NOTE: A new A/C compressor may come equipped with a clutch and pulley. If not, the A/C clutch components should be reused unless obvious signs of damage are found. If excessive grooving is found, a new A/C clutch disc and hub and A/C compressor pulley must be installed together. Otherwise, each component can be installed individually where needed.

Visually inspect the A/C clutch disc and hub, A/C compressor pulley and A/C clutch field coil for damage.

- Inspect for physical damage, including cracked or melted components or discoloration due to excessive heat.

- Inspect for excessive wear, including grooving in the A/C clutch disc and hub or A/C compressor pulley friction surface that is more than fingernail depth.

- Inspect for roughness in the A/C compressor pulley bearing.

2. Clean the A/C compressor clutch field coil and bearing mounting surfaces.

3. NOTICE: Do not use air tools. The Air Conditioning (A/C) compressor clutch field coil can be easily damaged.

Install the A/C compressor clutch field coil.

1. Place the A/C compressor clutch field coil on the A/C compressor with the A/C compressor clutch field coil electrical connector correctly positioned.

2. Place the A/C Compressor Field Coil Installer on the A/C clutch field coil.

3. Place the A/C Compressor Coil Installer on the A/C Compressor Field Coil Installer.

4. Use the Compressor Pulley Remover to install the A/C compressor clutch field coil until bottomed completely against the A/C compressor.





4. NOTE: The A/C clutch pulley is a tight fit on the A/C compressor head; it must be correctly aligned during installation.

Install the A/C clutch pulley.





5. Install the A/C clutch pulley snap ring with the bevel side out.





6. Place one nominal thickness A/C clutch hub spacer inside the clutch hub spline opening.





Vehicles with leaf spring A/C clutch

7. Install the A/C clutch disc and hub.





8. Install the A/C clutch disc and hub bolt.

1. Hold the A/C clutch disc and hub with the Wrench.

2. Install and tighten the A/C clutch disc and hub bolt to 13 Nm (115 lb-in).





Vehicles with 3-eye A/C clutch

9. Install the A/C clutch disc and hub.





10. Install the A/C clutch disc and hub bolt.

1. Hold the A/C clutch disc and hub with the Compressor Clutch Holding Fixture.

2. Install and tighten the A/C clutch disc and hub bolt to 13 Nm (115 lb-in).





All vehicles

11. Measure and adjust the clutch air gap by removing or adding A/C clutch hub spacers.





12. Install the A/C compressor. For additional information, refer to Air Conditioning (A/C) Compressor - 2.3L Service and Repair or Air Conditioning (A/C) Compressor - 4.0L Service and Repair.