LEMON Manuals: Even more car manuals for everyone: 1960-2025
Home >> Ford >> 2011 >> Taurus Limited, AWD >> Repair and Diagnosis >> Engine Mechanical >> Mechanical >> Engine System - General Information >> General Procedures >> Piston Pin Diameter
April 5, 2026: LEMON Manuals is launched! Read the announcement.

Piston Pin Diameter

NOTE: Refer to the appropriate Engine article for the specification.
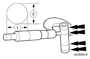
  1. Measure the piston pin diameter in 2 directions at the points shown in illustration. Verify the diameter is within specification.
    Fig 1: Measuring Piston Pin Diameter
    G07806408Courtesy of FORD MOTOR CO.