LEMON Manuals: Even more car manuals for everyone: 1960-2025
Home >> Ford >> 2011 >> Taurus Limited, AWD >> Repair and Diagnosis >> Engine Mechanical >> Mechanical >> Engine System - General Information >> General Procedures >> Valve Inspection
April 5, 2026: LEMON Manuals is launched! Read the announcement.

Valve Inspection

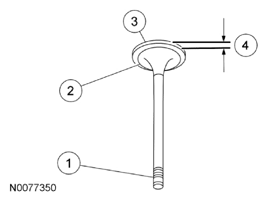
  1. Inspect the following valve areas:
    1. The end of the stem for grooves or scoring.
    2. The valve face and the edge for pits, grooves or scores.
    3. The valve head for signs of burning, erosion, warpage and cracking.
    4. The valve margin for wear.
      Fig 1: Identifying Valve Inspection Areas
      G07806422Courtesy of FORD MOTOR CO.