LEMON Manuals: Even more car manuals for everyone: 1960-2025
Home >> Ford >> 2011 >> Taurus SE >> Repair and Diagnosis >> External Pages >> Different car >> Section 878 (Transfer Case) >> Disassembly And Assembly >> Transfer Case >> Assembly
April 5, 2026: LEMON Manuals is launched! Read the announcement.

Transfer Case: Assembly

WARNING: This page is about a different car, the 2007 Ford Ranger. However, it is still accessible from the selected car via links, so may be relevant.
NOTE: Prior to assembly, lubricate all parts with multi-purpose transmission fluid.
  1. Using the special tools and a suitable press, install the bearing.
    Fig 1: Installing Bearing Using Special Tool
    GF0010688Courtesy of FORD MOTOR CO.
  2. Install the snap ring.
    Fig 2: Locating Snap Ring
    GF0010682Courtesy of FORD MOTOR CO.
  3. Using the special tool, install the oil seal.
    Fig 3: Identifying Special Seal Installation Tool
    GF0010689Courtesy of FORD MOTOR CO.
  4. CAUTION: Do not crush the needle bearing.
    Fig 4: Identifying Special Tool For Needle Bearing Installation
    GF0010690Courtesy of FORD MOTOR CO.
  5. Using the special tools and a suitable press, install the needle bearing.
  6. Using the special tools and a suitable press, install the sleeve bearing.
  7. NOTE: The recessed face of the sun gear must face the rear of the transfer case.
    Fig 5: Locating Sun Gear, Thrust Plate & Snap Ring
    GF0010691Courtesy of FORD MOTOR CO.
  8. Install the sun gear, the thrust plate, and the snap ring.
  9. NOTE: The stepped face of the thrust washer must face upward.
    Fig 6: Locating Thrust Washer & Input Shaft Assembly
    GF0010678Courtesy of FORD MOTOR CO.
  10. Install the input shaft assembly and the thrust washer.
  11. NOTE: Install the bearing on the input shaft assembly so that the snap ring groove in the bearing is closest to the top of the planet carrier.
  12. Using a suitable press, install the bearing.
  13. Install the snap ring.
    Fig 7: Locating Snap Ring
    GF0010676Courtesy of FORD MOTOR CO.
  14. Using the special tool, install the oil seal.
    Fig 8: Identifying Special Tool For Oil Seal Installation
    GF0010692Courtesy of FORD MOTOR CO.
  15. Install the large snap ring in the groove in the front adapter.
    Fig 9: Locating Large Snap Ring In Groove In Front Adapter
    GF0010674Courtesy of FORD MOTOR CO.
  16. CAUTION: Install the front adapter within 15 minutes of applying the silicone sealant or it will be necessary to apply new sealant. If possible, allow one hour before filling the transfer case with lubricant to allow the silicone sealant to cure.
    Fig 10: Applying Bead Of Silicone Sealant To Front Adapter Mounting Surface Of Transfer Case
    GF0010693Courtesy of FORD MOTOR CO.
  17. Apply a 3 mm (1/8 inch) bead of silicone sealant to the front adapter mounting surface of the transfer case.
  18. Position the front adapter on the transfer case, and install the 6 bolts.
    Fig 11: Locating Front Adapter To Transfer Case Bolts
    GF0010694Courtesy of FORD MOTOR CO.
    • Tighten to 34 Nm (25 lb-ft).
  19. Install the input shaft assembly and the complete carrier assembly as an assembly.
    Fig 12: Installing Input Shaft Assembly & Complete Carrier Assembly
    GF0010695Courtesy of FORD MOTOR CO.
    • Align the pinion gears gear teeth and the ring gear teeth. Expand the snap ring and push inward on the planet carrier until the input shaft assembly seats fully in the front adapter. Verify that the snap ring engaged the assembly by holding the front adapter and lightly tapping the face of the input shaft assembly against a wooden block.
  20. Attach the front case to the special tool.
    Fig 13: Identifying Special Mounting Tool
    GF0010696Courtesy of FORD MOTOR CO.
  21. Install the new shift fork facings. Verify that they snap securely into place.
    Fig 14: Locating New Shift Fork Facings
    GF0010685Courtesy of FORD MOTOR CO.
  22. Install the reduction hub and the reduction fork assembly as an assembly.
    Fig 15: Locating Reduction Hub & Reduction Fork Assembly
    GF0010697Courtesy of FORD MOTOR CO.
  23. CAUTION: The oil pump spring pin must be installed at the correct height to make sure that the oil pump shaft rotates with the rear output shaft.
    NOTE: If a measurement was not taken during disassembly, install the pin to the correct height specification using a micrometer.
    Fig 16: Identifying Pump Drive Pin Height & Rear Output Shaft Diameter
    GF0010667Courtesy of FORD MOTOR CO.
  24. Press the pin into the rear output shaft pin hole to the previously measured height.
  25. NOTE: Do not remove the plastic insert from the bore of a new pump assembly. Discard it after it slides out of the bore during the pump assembly installation on the rear output shaft.
  26. Install the pump assembly on the rear output shaft.
    • Align the keyway in the cover and the spring pin in the rear output shaft and fully seat the pump assembly on the shaft. The shaft will rotate freely in the pump assembly when the pump assembly is fully seated.
      Fig 17: Locating Alignment Key
      GF0010666Courtesy of FORD MOTOR CO.
  27. If the pump assembly does not turn freely, realign the keyway and the spring pin and jiggle the pump assembly until it seats fully and rotates freely on the shaft.
  28. Prime the pump assembly.
    Fig 18: Locating Pump Assembly
    GF0010698Courtesy of FORD MOTOR CO.
    • Submerge the pump in a container full of clean multi-purpose transmission fluid.
  29. Install the rear output shaft and the pump assembly.
    Fig 19: Installing Rear Output Shaft & Pump Assembly
    GF0010665Courtesy of FORD MOTOR CO.
  30. Install the oil strainer and the magnet in the slot in the case.
    Fig 20: Installing Oil Strainer & Magnet In Slot In Case
    GF0010664Courtesy of FORD MOTOR CO.
  31. Install the front output shaft assembly.
    Fig 21: Locating Front Output Shaft Assembly
    GF0010699Courtesy of FORD MOTOR CO.
  32. Install the snap ring.
    Fig 22: Locating Snap Ring
    GF0010668Courtesy of FORD MOTOR CO.
  33. Install the drive chain, the drive sprocket and the driven sprocket as an assembly.
    Fig 23: Installing Drive Chain, Drive Sprocket & Driven Sprocket
    GF0010700Courtesy of FORD MOTOR CO.
  34. Install the spacer and the snap ring.
    Fig 24: Locating Spacer & Snap Ring
    GF0010662Courtesy of FORD MOTOR CO.
  35. Install the shift rail through the reduction shift fork. Verify that the shift rail seats in the case bore.
    Fig 25: Installing Shift Rail Through Reduction Shift Fork
    GF0010701Courtesy of FORD MOTOR CO.
  36. Slide the spacer and the torsion spring on the shift shaft and position it beneath the drive tang.
    Fig 26: Locating Spacer & Torsion Spring On Shift Shaft
    GF0010702Courtesy of FORD MOTOR CO.
  37. WARNING: Keep fingers away from spring ends. Failure to follow these instructions can result in personal injury.
    Fig 27: Locating First Spring Tang To Left Of Drive Tang
    GF0010703Courtesy of FORD MOTOR CO.
  38. Position the first spring tang to the left of the drive tang.
  39. WARNING: Keep fingers away from spring ends. Failure to follow these instructions can result in personal injury.
    Fig 28: Winding Second Spring Tang Clockwise Past Drive Tang
    GF0010704Courtesy of FORD MOTOR CO.
  40. Wind the second spring tang clockwise past the drive tang, and push the torsion spring and sleeve in as far as it will go.
  41. Install the electric shift cam, and slide the drive tang between the torsion spring tangs as far as it will go.
    Fig 29: Installing Electric Shift Cam & Slide Drive Tang Between Torsion Spring Tangs
    GF0010705Courtesy of FORD MOTOR CO.
  42. CAUTION: Do not bend the cam during installation. This will damage the pin on the end of the shift shaft.
    Fig 30: Installing Pin On End Of Shift Shaft Into Hole In Case
    GF0010706Courtesy of FORD MOTOR CO.
  43. Install the pin on the end of the shift shaft into the hole in the case.
  44. Position the torsion spring tangs so that they point toward the top side of the case and just touch the reduction shift fork.
    Fig 31: Locating Torsion Spring Tangs
    GF0010707Courtesy of FORD MOTOR CO.
  45. Assemble the lockup assembly.
    Fig 32: Assembling Lockup Assembly
    GF0010661Courtesy of FORD MOTOR CO.
  46. Press downward on the lockup hub and install the snap ring.
    Fig 33: Locating Snap Ring
    GF0010660Courtesy of FORD MOTOR CO.
  47. Install the lockup fork and the lockup collar as an assembly.
    Fig 34: Locating Lockup Fork & Collar
    GF0010708Courtesy of FORD MOTOR CO.
  48. NOTE: After the lockup fork is released, verify that the cam roller is resting on the top surface of the electric shift cam and not into an inside track.
    Fig 35: Locating Lockup Fork
    GF0010709Courtesy of FORD MOTOR CO.
  49. The triangular shaft will be in the 2-wheel high (2H) position at final assembly.
  50. Lift upward on the lockup fork slightly while holding down on the shift rail and rotate the electric shift cam track into the cam roller by turning the shift shaft.
    Fig 36: Rotating Electric Shift Cam Track Into Cam Roller
    GF0010710Courtesy of FORD MOTOR CO.
  51. Install the shift collar hub and the return spring.
    Fig 37: Locating Shift Collar Hub & Return Spring
    GF0010711Courtesy of FORD MOTOR CO.
  52. CAUTION: Do not crush the needle bearing.
    Fig 38: Identifying Special Tool For Needle Bearing Installation
    GF0010712Courtesy of FORD MOTOR CO.
  53. Using the special tools and a suitable press, install the needle bearing.
  54. Using the special tools and a suitable press, install the bearing.
    Fig 39: Identifying Special Tool For Pressing Bearing
    GF0010713Courtesy of FORD MOTOR CO.
  55. Install the snap ring that retains the bearing to the transfer case cover.
    Fig 40: Installing Snap Ring Retains Bearing To Transfer Case Cover
    GF0010714Courtesy of FORD MOTOR CO.
  56. Using the special tool, install the oil seal.
    Fig 41: Identifying Special Tool For Oil Seal Installation
    GF0010715Courtesy of FORD MOTOR CO.
  57. CAUTION: Assemble the cases within 15 minutes of applying the silicone sealant or it will be necessary to apply new sealant. If possible, allow one hour before filling the transfer case with lubricant to allow the silicone sealant to cure.
  58. Apply a 3 mm (1/8 in) bead of silicone sealant to the mating surface of the front case.
  59. Assemble the cases.
    • Align the output shaft, the shift shaft, and the return spring to their respective bores in the transfer case cover.
      Fig 42: Identifying Output Shaft, Shift Shaft & Return Spring
      GF0010716Courtesy of FORD MOTOR CO.
  60. Install the bolts.
    Fig 43: Locating Bolts
    GF0010717Courtesy of FORD MOTOR CO.
    • Tighten to 34 Nm (25 lb-ft).
  61. Install the bolts.
    Fig 44: Locating Bolts On Transfer Case Cover
    GF0010718Courtesy of FORD MOTOR CO.
    • Tighten to 34 Nm (25 lb-ft).
  62. Install the spacer on the rear output shaft.
    Fig 45: Locating Spacer On Rear Output Shaft
    GF0010649Courtesy of FORD MOTOR CO.
  63. Using the special tool, install the oil seal.
    Fig 46: Identifying Special Tool For Installing Seal
    GF0010639Courtesy of FORD MOTOR CO.
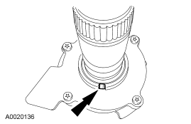
  64. CAUTION: Align the index marks.
    Fig 47: Identifying Index Mark And Special Holding Tool
    GF0010640Courtesy of FORD MOTOR CO.
    NOTE: Be sure the oil seal is not on the shaft before installing the shaft.
  65. Position the flange on the rear output shaft. If necessary, reseat the oil seal in the flange.
  66. Install a new oil seal in the flange.
  67. Using the special tool, install the flange. Tighten the nut on the special tool to 54 N.m (40 lb-ft) to seat the flange on the shaft.
    Fig 48: Identifying Special Tool For Holding And Tightening Flange
    GF0010641Courtesy of FORD MOTOR CO.
  68. Use the special tool to prevent the flange from turning. Install a new washer and a new nut.
    Fig 49: View Of Washer, Nut And Alignment Marks
    GF0010635Courtesy of FORD MOTOR CO.
    • Tighten to 210 Nm (155 lb-ft).
  69. If the shift shaft will not stay in the 4H position, rotate the shift shaft clockwise to the 2H position. During motor assembly and connector installation, rotate the motor assembly counterclockwise until the motor assembly aligns with the mounting holes.
    Fig 50: Rotating Shift Shaft Clockwise To 2H Position
    GF0010719Courtesy of FORD MOTOR CO.
  70. CAUTION: Install the motor assembly within 15 minutes of applying the silicone sealant or it will be necessary to apply new sealant. If possible, allow one hour before filling the transfer case with lubricant to allow the silicone sealant to cure.
  71. Apply a thin coat of silicone sealant to the base of the motor housing.
  72. Install the motor assembly and connector.
    Fig 51: Locating Bolt On Motor Assembly
    GF0010650Courtesy of FORD MOTOR CO.
    • Tighten to 10 Nm (89 lb-in).
  73. Install the transfer case. For additional information, refer to Transfer Case  in this article.
    Fig 52: Locating Bolt On Transfer Case
    GF0010651Courtesy of FORD MOTOR CO.