LEMON Manuals: Even more car manuals for everyone: 1960-2025
Home >> Ford >> 2012 >> E 150 V8-5.4L >> Repair and Diagnosis >> Windows and Glass >> Windshield >> Service and Repair >> Windshield Glass
April 5, 2026: LEMON Manuals is launched! Read the announcement.

Windshield Glass




Windshield Glass

















Removal

1. Remove the windshield wiper pivot arms.

2. Remove the cowl grille panels.

3. Drill out the rivets and remove the windshield glass stops.

4. Remove the inside rear view mirror.

5. Remove the RH and LH A-pillar trim panels.

6. If equipped, remove the overhead console.

7. If equipped, remove the dome lamp assembly.

8. Remove the sun visors and clips.

9. Lower the front portion of the headliner.

10. Before cutting the urethane adhesive, remove dirt and other foreign material from the windshield pinch weld area.
- Use a clean shop towel or oil-free compressed air.


11. NOTE: Refer to manufacturer's instructions before using the Deluxe Windshield Removal Tool.

Lubricate the urethane adhesive with water to aid the Deluxe Windshield Removal Tool when cutting the urethane adhesive.


12. WARNING: Always wear eye protection when servicing a vehicle. Failure to follow this instruction may result in serious personal injury.

WARNING: Wear protective gloves when handling components or parts that have pointed or sharp edges. Failure to follow this instruction may result in serious personal injury.

NOTICE: To avoid rust formation, use extreme care not to scratch the paint or primer, or otherwise damage the pinch weld during glass removal.

NOTE: Insert the blade into the Deluxe Windshield Removal Tool so that the flat side is against the glass.

NOTE: Support the windshield glass as necessary to prevent the glass from dropping while cutting the urethane adhesive.

Using the Deluxe Windshield Removal Tool, cut the urethane adhesive from the windshield glass starting at the top center and working toward the bottom corners.






13. Using The Pumper, distance the windshield glass from the body.





14. NOTE: Removing the windshield glass requires more than one technician.

Using the Deluxe Windshield Removal Tool, cut the remaining urethane adhesive and carefully remove the windshield glass from the vehicle and place on a stable work surface with the interior side of the glass facing up.


15. Remove the windshield header seal.

Installation

1. WARNING: Repair any corrosion found on the pinch weld. The pinch weld is a structural component of the vehicle. Corrosion left unrepaired may reduce the structural integrity of the vehicle. Failure to follow this instruction may result in serious injury to vehicle occupant(s).

NOTE: Avoid scratching the pinch weld. Repair all minor scratches or exposed metal on the pinch weld following manufacturer's instructions. Use the same brand pinch weld primer, glass primer and urethane adhesive.

Using an appropriate tool, trim the urethane adhesive leaving a 1.0-1.5 mm (0.04-0.06 in) base of original equipment urethane adhesive on the pinch weld.






2. Using a clean shop towel, brush or oil-free compressed air, clean the pinch weld area around the existing urethane adhesive. Remove any foreign material or water that may have entered during windshield removal.

3. Install the windshield glass stops on the vehicle.
- Rivet the stops in position.


4. If reinstalling the original windshield glass, remove the remaining urethane adhesive from the glass leaving a thin layer to bond with the new urethane adhesive bead.

5. Install the windshield header seal on the windshield glass.

6. Clean the inside of the windshield glass with glass cleaner.

7. NOTICE: Be sure to use the same brand and cure-rate products for the urethane adhesive and glass primer. Do not mix different brands of urethane adhesive and glass primer. Refer to the Material Chart.

If installing a new windshield glass, apply glass primer according to manufacturer's instructions. Allow at least 6 minutes to dry.


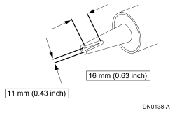
8. Cut the urethane adhesive applicator tip to specification.





9. NOTE: The windshield glass must be positioned within 10 minutes of applying the urethane adhesive.

NOTE: Use either a high-ratio, electric or battery-operated caulk gun that will apply the urethane adhesive with less effort and continuous bead.

Apply urethane adhesive on top of the existing trimmed urethane adhesive bead on the pinch weld, starting and ending at the bottom of the windshield near the center, making sure there are no gaps in the bead.


10. WARNING: Do not drive vehicle until the urethane adhesive seal has cured. Follow urethane adhesive manufacturer's curing directions. Inadequate or incorrect curing of the urethane adhesive seal will adversely affect glass retention. Failure to follow these instructions may result in serious injury to vehicle occupant(s).

NOTE: Before positioning the windshield glass, open vehicle windows to prevent the air pressure of closing doors from affecting the urethane adhesive bond.

With the aid of an assistant, install the windshield glass.






11. Fill the cavities between both the LH and RH sides of the windshield header seal and the sheet metal, using urethane adhesive for a total length of 50 mm (1.96 in) from the base of the A-pillars.

12. NOTE: The urethane adhesive must cure for a minimum of one hour before testing for air or water leaks.

After the urethane adhesive cures, check the windshield glass seal for air or water leaks through the urethane adhesive bead and add urethane adhesive as necessary.


13. Position the front portion of the headliner.

14. Install the sun visors and clips.

15. If equipped, install the dome lamp assembly.

16. If equipped, install the overhead console.

17. Install the inside rear view mirror.

18. Install the LH and RH A-pillar trim panels.

19. Install the cowl grille panels.

20. Install the windshield wiper pivot arms.