LEMON Manuals: Even more car manuals for everyone: 1960-2025
Home >> Ford >> 2012 >> Econoline Base, Van Cargo >> Repair and Diagnosis >> External Pages >> Different variant/trim >> Section 53 (Steering Column) >> Disassembly And Assembly >> Steering Column >> Disassembly
April 5, 2026: LEMON Manuals is launched! Read the announcement.

Steering Column: Disassembly

WARNING: This page is about a different variant/trim than selected.
  1. Remove the steering column. For additional information, refer to STEERING COLUMN  .
  2. Remove the clockspring. For additional information, refer to SUPPLEMENTAL RESTRAINT SYSTEM .
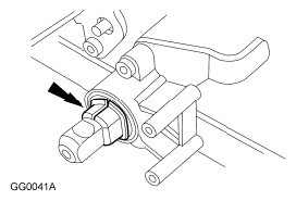
  3. Remove the ignition switch.
    1. Remove the 2 screws.
    2. Remove the ignition switch.
      Fig 1: Identifying Ignition Switch Screws
      G06137252Courtesy of FORD MOTOR CO.
  4. NOTE: Note the position of the ignition lock cylinder gear, bearing and bearing retainer prior to removal.
    Fig 2: Locating Ignition Lock Cylinder Bearing Retainer
    G06601223Courtesy of FORD MOTOR CO.
  5. Remove the ignition lock cylinder bearing retainer.
  6. Remove the ignition lock cylinder bearing.
    Fig 3: Locating Ignition Lock Cylinder Bearing
    G06137254Courtesy of FORD MOTOR CO.
  7. Remove the ignition lock cylinder gear.
    Fig 4: Locating Ignition Lock Cylinder Gear
    G06601225Courtesy of FORD MOTOR CO.
  8. Remove the selector lever pin and the selector lever.
    Fig 5: Removing Selector Lever Pin And Selector Lever
    G06601226Courtesy of FORD MOTOR CO.
  9. If equipped, remove the 2 screws and the steering wheel rotation sensor.
  10. If equipped, remove the sensor ring.
    1. Remove the steering column lower bearing spring.
    2. Remove the sensor ring.
      Fig 6: Identifying Steering Column Lower Bearing Spring And Sensor Ring
      G06137257Courtesy of FORD MOTOR CO.
  11. Remove the steering column lower bearing tolerance ring from the steering column shaft.
    Fig 7: Locating Steering Column Lower Bearing Tolerance Ring
    G06185642Courtesy of FORD MOTOR CO.
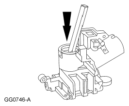
  12. Remove the 2 ignition lock cylinder housing screws.
    Fig 8: Removing Ignition Lock Cylinder Housing Screws
    G06601229Courtesy of FORD MOTOR CO.
  13. WARNING: Use care when removing the spring. The spring is under high tension and may release with great force. Failure to follow this instruction may result in serious personal injury.
  14. Remove the ignition lock cylinder housing and the steering column shaft from the steering actuator housing.
    1. Using a shop-fabricated tool, pry up on the steering column locking levers.
    2. Remove the steering column position spring.
      Fig 9: Removing Steering Column Position Spring
      G06137260Courtesy of FORD MOTOR CO.
  15. Using a suitable tool, pry up on the flush surface of the turn signal cancel cam and remove it.
    Fig 10: Prying Up On Flush Surface Of Turn Signal Cancel Cam
    G06601231Courtesy of FORD MOTOR CO.
  16. Remove the steering column upper bearing snap ring.
    Fig 11: Locating Steering Column Upper Bearing Snap Ring
    G06137262Courtesy of FORD MOTOR CO.
  17. Remove the steering column upper bearing spring.
    Fig 12: Locating Steering Column Upper Bearing Spring
    G06137263Courtesy of FORD MOTOR CO.
  18. Remove the steering column bearing sleeve.
    Fig 13: Locating Steering Column Bearing Sleeve
    G06137264Courtesy of FORD MOTOR CO.
  19. Remove the steering column upper bearing tolerance ring.
    1. Slide the steering column shaft in toward the steering column lock cylinder housing.
    2. Slide the steering column upper bearing tolerance ring from the steering column shaft and remove the shaft.
      Fig 14: Identifying Steering Column Shaft And Steering Column Upper Bearing Tolerance Ring
      G06137265Courtesy of FORD MOTOR CO.
  20. Using a punch, remove the small steering column upper bearing from the ignition lock cylinder housing.
    Fig 15: Locating Small Steering Column Upper Bearing From Ignition Lock Cylinder Housing
    G06601236Courtesy of FORD MOTOR CO.
  21. Using a punch, remove the large steering column upper bearing from the ignition lock cylinder housing.
    Fig 16: Locating Large Steering Column Upper Bearing From Ignition Lock Cylinder Housing
    G06601237Courtesy of FORD MOTOR CO.
  22. NOTE: If installing a new transmission shift selector position insert, make sure that the correct part is being installed.
    Fig 17: Locating BSIA Solenoid Bolts
    G06141232Courtesy of FORD MOTOR CO.
  23. Remove the 3 bolts, the Brake Shift Interlock Actuator (BSIA) and the transmission shift position insert.
  24. Remove the shift tube.
    1. Remove the 4 bolts.
    2. Remove the 2 shift tube clamps.
    3. Remove the shift tube.
      Fig 18: Identifying Shift Tube And Clamps
      G06137269Courtesy of FORD MOTOR CO.
  25. Remove the transmission shift arm assembly.
    1. Remove the 2 bolts.
    2. Remove the transmission shift arm assembly.
      Fig 19: Identifying Transmission Shift Arm Assembly And Bolts
      G06137270Courtesy of FORD MOTOR CO.
  26. Remove the spring.
    Fig 20: Locating Gearshift Selector Tube Spring
    G06137271Courtesy of FORD MOTOR CO.
  27. Drive out the gearshift lever pin from the shift tube.
    Fig 21: Locating Gearshift Lever Pin
    G06601242Courtesy of FORD MOTOR CO.
  28. Remove the gearshift lever.
    Fig 22: Locating Gearshift Lever
    G06137273Courtesy of FORD MOTOR CO.
  29. Remove the column shift selector lever plunger.
    • If it is bent, replace the column shift selector lever plunger.
      Fig 23: Locating Column Shift Selector Lever Plunger
      G06601244Courtesy of FORD MOTOR CO.
  30. Remove the 2 gearshift lever socket bushings and the transmission control selector lever spring clip.
    Fig 24: Locating Gearshift Lever Socket Bushings And Transmission Control Selector Lever Spring Clip
    G06601245Courtesy of FORD MOTOR CO.
  31. Remove the steering column lock pawl.
    1. Drive out the steering column lock lever pin.
    2. Remove the steering column lock pawl.
      Fig 25: Removing Steering Column Lock Pawl
      G06185660Courtesy of FORD MOTOR CO.
  32. Remove the steering column lower bearing and sleeve.
    Fig 26: Locating Steering Column Lower Bearing And Sleeve
    G06601247Courtesy of FORD MOTOR CO.
  33. Remove the steering column lower bearing retainer.
    1. Remove the bolts.
    2. Remove the steering column lower bearing retainer.
      Fig 27: Identifying Steering Column Lower Bearing Retainer With Bolts
      G06137278Courtesy of FORD MOTOR CO.
  34. Remove the upper and lower steering column lock lever actuators.
    Fig 28: Removing Upper And Lower Steering Column Lock Lever Actuators
    G06601249Courtesy of FORD MOTOR CO.