LEMON Manuals: Even more car manuals for everyone: 1960-2025
Home >> Ford >> 2012 >> Econoline Base, Van Cargo >> Repair and Diagnosis >> External Pages >> Different variant/trim >> Section 7 (OEM Component Testing) >> Component Testing >> Schematic >> Notes
April 5, 2026: LEMON Manuals is launched! Read the announcement.

Component Testing: Schematic: Notes

WARNING: This page is about a different variant/trim than selected.
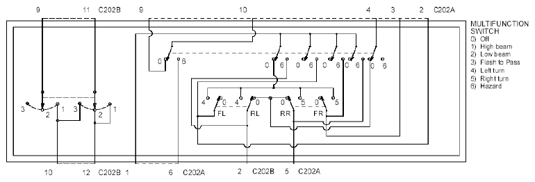
Fig 1: Multifunction Switch Schematic
G07892081Courtesy of FORD MOTOR CO.