LEMON Manuals: Even more car manuals for everyone: 1960-2025
Home >> Ford >> 2012 >> Explorer Base, 2.0 9 >> Repair and Diagnosis >> Engine Mechanical >> Mechanical >> Engine System - General Information >> Component Test(S) >> Valve Train Analysis >> Component Test
April 5, 2026: LEMON Manuals is launched! Read the announcement.

Component Test

The following component tests are used to diagnose valve train concerns.

  1. Perform the valve train analysis with the engine off and valve cover removed
    • Check for damaged or severely worn parts and correct assembly. Make sure correct parts are used with the static engine analysis as follows.
  2. Perform the valve train analysis with the camshafts and valve tappets
    • Check for broken or damaged parts.
    • Check for loose mounting bolts on camshaft caps.
    • Check for worn or damaged valve tappets.
  3. Perform the valve train analysis with the valve springs and valve tappets removed
    • Check for broken or damaged parts.
  4. Perform the valve train analysis with the valve spring retainer, valve spring retainer keys and valve tappets removed
    • Check for correct seating of the valve spring retainer key on the valve stem and in valve spring retainer.
    • Check for correct seating on the valve stem.
  5. Perform the valve train analysis with the valves, cylinder head and valve tappets removed.
    • Check for plugged oil drain-back holes.
    • Check for worn or damaged valve tips.
    • Check for missing or damaged valve stem seals or guide-mounted valve stem seal.
    • Check for missing or worn valve spring seats.
  6. Check camshaft lobe lift
    1. Remove the spark plugs. REFER to ENGINE IGNITION SYSTEM - 2.0L-GTDI , or ENGINE IGNITION SYSTEM - 3.5L-TI-VCT for specifications and service informatiom.
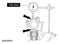
    2. Install the Dial Indicator Gauge with Holding Fixture so the rounded tip of the dial indicator is on top of the camshaft lobe and on the same plane as the valve tappet.
      Fig 1: Checking Camshaft Lobe Lift
      G06064049Courtesy of FORD MOTOR CO.
    3. Rotate the crankshaft using a breaker bar and socket attached to the crankshaft pulley retainer bolt. Rotate the crankshaft until the base circle of the camshaft lobe is reached.
    4. Zero the dial indicator. Continue to rotate the crankshaft until the high-lift point of the camshaft lobe is in the fully-raised position (highest indicator reading).
    5. To check the accuracy of the original dial indicator reading, continue to rotate crankshaft until the base circle is reached. The dial indicator reading should be zero. If zero reading is not obtained, repeat Steps 1 through 6.
    6. If the lift on any lobe is below specified service limits, install a new camshaft and camshaft valve tappets.
    7. Install the spark plugs. REFER to ENGINE IGNITION SYSTEM - 2.0L-GTDI , or ENGINE IGNITION SYSTEM - 3.5L-TI-VCT for specifications and service informatiom.