LEMON Manuals: Even more car manuals for everyone: 1960-2025
Home >> Ford >> 2012 >> Mustang Base, 2D Convertible, Automatic Trans >> Repair and Diagnosis >> External Pages >> Different car >> Section 153 (Anti-Lock Brake System And Stability Control - F-150) >> Diagnosis And Testing >> Anti-Lock Control >> Pinpoint Tests >> Pinpoint Test R: The Stability/Traction Control System is Inoperative or Cannot be Disabled >> Pinpoint Test R: The Stability/Traction Control System Is Inoperative Or Cannot Be Disabled
April 5, 2026: LEMON Manuals is launched! Read the announcement.

Pinpoint Test R: The Stability/Traction Control System Is Inoperative Or Cannot Be Disabled

WARNING: This page is about a different car, the 2012 Ford Pickup. However, it is still accessible from the selected car via links, so may be relevant.
NOTE: Use the correct probe adapter(s) when making measurements. Failure to use the correct probe adapter(s) may damage the connector.
  1. R1 VERIFY THAT THE KEY IN USE IS NOT MYKEY® RESTRICTED 
    • Ignition ON.
    • Attempt to disable the Electronic Stability Control (ESC) system by pressing the stability/traction control switch.
    • Is ADVTRAC ON MyKey® SETTING displayed in the message center? 
      • Yes  : INFORM the customer that the key in use is MyKey® restricted. If necessary, REFER to the Owner's Literature for information regarding the programming of MyKey® features.
      • No  : GO to R2.
  2. R2 CHECK FOR ABS MODULE DTCs 
    • Attempt to disable the ESC system by pressing the stability/traction control switch.
    • Connect the scan tool.
    • Enter the following diagnostic mode on the scan tool: Self Test - ABS Module.
    • Is DTC U0073, U0155 or U0423 present? 
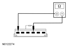
  3. R3 ISOLATE THE STABILITY/TRACTION CONTROL SWITCH 
    • Ignition OFF.
    • Disconnect: Stability/Traction Control Switch C2355.
    • Measure the resistance between stability/traction control switch pins 1 and 4, component side, while pressing and releasing the switch.
      Fig 1: Measuring Resistance Between Stability/Traction Control Switch Pins 1 And 4, Component Side, While Pressing And Releasing Switch
      G07958217Courtesy of FORD MOTOR CO.
    • Is the resistance less than 5 ohms with the switch pressed and greater than 10, 000 ohms with the switch released? 
  4. R4 CHECK THE SWITCH INPUT CIRCUIT FOR A SHORT TO GROUND 
    • Disconnect: Battery Negative Cable.
    • Disconnect: IPC C220.
    • Measure the resistance between stability/traction control switch C2355-4, circuit CCA15 (YE/GY), harness side and ground.
      Fig 2: Measuring Resistance Between Stability/Traction Control Switch C2355-4, Circuit CCA15 (YE/GY), Harness Side And Ground
      G06167666Courtesy of FORD MOTOR CO.
    • Is the resistance greater than 10, 000 ohms? 
      • Yes  : GO to R5.
      • No  : REPAIR circuit CCA15 (YE/GY). TEST the system for normal operation.
  5. R5 CHECK THE SWITCH INPUT CIRCUIT FOR AN OPEN 
    • Measure the resistance between stability/traction control switch C2355-4, circuit CCA15 (YE/GY), harness side and IPC C220-18, circuit CCA15 (YE/GY), harness side.
      Fig 3: Measuring Resistance Between Stability/Traction Control Switch C2355-4, Circuit CCA15 (YE/GY) And IPC C220-18, Circuit CCA15 (YE/GY)
      G07958219Courtesy of FORD MOTOR CO.
    • Is the resistance less than 5 ohms? 
      • Yes  : GO to R6.
      • No  : REPAIR circuit CCA15 (YE/GY). TEST the system for normal operation.
  6. R6 CHECK THE SWITCH GROUND CIRCUIT FOR AN OPEN 
    • Measure the resistance between stability/traction control switch C2355-1, circuit GD133 (BK), harness side and ground.
      Fig 4: Measuring Resistance Between Stability/Traction Control Switch C2355-1, Circuit GD133 (BK), Harness Side And Ground
      G06293619Courtesy of FORD MOTOR CO.
    • Is the resistance less than 5 ohms? 
      • Yes  : GO to R7.
      • No  : REPAIR circuit GD133 (BK). TEST the system for normal operation.
  7. R7 CHECK FOR CORRECT IPC OPERATION 
    • Check IPC C220 for:
      • corrosion
      • damaged pins
      • pushed-out pins
    • Connect the IPC connector and make sure it seats correctly.
    • Operate the system and verify the concern is still present.
    • Is the concern still present? 
      • Yes  : INSTALL a new IPC. REFER to INSTRUMENTATION, MESSAGE CENTER, AND WARNING CHIMES . CLEAR the DTCs. REPEAT the self-test.
      • No  : The system is operating correctly at this time. The concern may have been caused by a loose or corroded connector. CLEAR the DTCs. REPEAT the self-test.