LEMON Manuals: Even more car manuals for everyone: 1960-2025
Home >> Ford >> 2012 >> Mustang Base, 2D Convertible, Standard Trans >> Repair and Diagnosis >> External Pages >> Different car >> Section 582 (Transfer Case) >> Disassembly And Assembly >> Transfer Case - Electronic Shift >> Assembly
April 5, 2026: LEMON Manuals is launched! Read the announcement.

Transfer Case - Electronic Shift: Assembly

WARNING: This page is about a different car, the 2014 Ford F-150. However, it is still accessible from the selected car via links, so may be relevant.
  1. Using a press and the Bearing Cup Installer with the Handle, install the front output shaft bearing.
    Fig 1: Installing Front Output Shaft Using Tool
    G06171836Courtesy of FORD MOTOR CO.
  2. Using the Input Shaft Oil Seal Installer, install the front output shaft seal.
    Fig 2: Installing Front Output Shaft Seal
    G09544227Courtesy of FORD MOTOR CO.
  3. Install the front output shaft.
    1. Position the front output shaft.
    2. Install the front output shaft snap ring.
      Fig 3: Installing Front Output Shaft
      G06171773Courtesy of FORD MOTOR CO.
  4. Install the front planet carrier bearing.
    Fig 4: Installing Front Planet Carrier Bearing
    G09544229Courtesy of FORD MOTOR CO.
  5. Using the Input Shaft Oil Seal Installer, install the front input seal.
    Fig 5: Installing Front Input Seal
    G09544230Courtesy of FORD MOTOR CO.
  6. Position the ring gear in the case. Install the ring gear snap ring.
  7. If removed, using a press and the Input Shaft Bearing Installer, install the needle bearing into the front planet carrier.
    Fig 6: Installing Needle Bearing Into Front Planet
    G06128086Courtesy of FORD MOTOR CO.
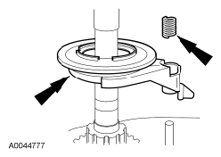
  8. Install the front planet carrier and the thrust bearing.
    Fig 7: Locating Planet Carrier And Thrust Bearing
    G06128072Courtesy of FORD MOTOR CO.
  9. Install the electric shift cam assembly.
    Fig 8: Installing Electric Shift Cam Assembly
    G06457283Courtesy of FORD MOTOR CO.
  10. Install the shift fork and the reduction hub.
    Fig 9: Locating Shift Fork And Reduction Hub
    G06171844Courtesy of FORD MOTOR CO.
  11. Install the shift rail.
    Fig 10: Installing Shift Rail
    G06171845Courtesy of FORD MOTOR CO.
  12. Install the oil pump, output shaft and the thrust washer.
    Fig 11: Installing Oil Pump, Output Shaft And Thrust Washer
    G09544236Courtesy of FORD MOTOR CO.
  13. Install the magnet into its slot in the case.
    Fig 12: Installing Magnet Into Slot In Case
    G06128091Courtesy of FORD MOTOR CO.
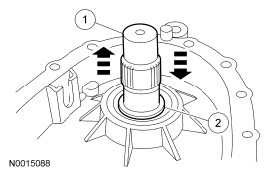
  14. Install the drive chain and the sprockets as an assembly.
    Fig 13: Installing Drive Chain And Sprockets
    G06171782Courtesy of FORD MOTOR CO.
  15. Install the lockup hub assembly. If the lockup hub assembly was disassembled, carry out the following steps.
    1. Position the lockup collar.
    2. Install the lockup collar springs.
    3. Install the lockup hub.
    4. Install the armature.
    5. Install the lockup hub snap ring.
      Fig 14: Installing Lockup Hub Assembly
      G06171783Courtesy of FORD MOTOR CO.
  16. Install the lockup hub and the shift fork and spring.
    Fig 15: Installing Lockup Hub And Shift Fork And Spring
    G06171784Courtesy of FORD MOTOR CO.
  17. Install the coil housing.
    Fig 16: Installing Coil Housing
    G09544241Courtesy of FORD MOTOR CO.
  18. Install the snap ring.
    Fig 17: Locating Shift Collar Hub Snap Ring
    G06171748Courtesy of FORD MOTOR CO.
  19. Using the Mainshaft Bearing Installer, install the rear output shaft bearing.
    Fig 18: Installing Rear Output Shaft Bearing Using Special Tool
    G06171853Courtesy of FORD MOTOR CO.
  20. Using the Main shaft Bearing Installer, install the front output shaft bearing.
    Fig 19: Installing Front Output Shaft Bearing Using Special Tool
    G06171854Courtesy of FORD MOTOR CO.
  21. Install the transfer case field coil, washers and the 3 nuts.
    • Tighten to 10 Nm (89 lb-in).
      Fig 20: Locating Transfer Case Field Coil Nuts
      G06128055Courtesy of FORD MOTOR CO.
  22. NOTE: Only apply enough silicone sealant to seal the transfer case halves together.

    Apply a small bead of silicone sealant to the mating surface of the case and cover.

  23. Position the 2 transfer case halves and tighten the 20 bolts in the sequence shown below.
    • Tighten to 24 Nm (18 lb-ft).
      Fig 21: Identifying Transfer Case Bolts Tightening Sequence
      G06171790Courtesy of FORD MOTOR CO.
  24. Using the Input Shaft Oil Seal Installer, install the rear output shaft seal.
    Fig 22: Installing Rear Output Shaft Seal
    G09544247Courtesy of FORD MOTOR CO.
  25. Apply a small bead of silicone sealant to the transfer case shift motor mating surface.
    NOTE: The following steps need to be performed in the correct order when installing the transfer case shift motor. Failure to follow the steps in the correct order may result in damage to the component.
  26. Install the transfer case shift motor and the 3 bolts.
    • Tighten to 10 Nm (89 lb-in).
      Fig 23: Installing Transfer Case Shift Motor Bolts
      G06171812Courtesy of FORD MOTOR CO.
  27. Install the transfer case shift motor bracket bolt.
    • Tighten to 10 Nm (89 lb-in).
  28. Secure the 2 transfer case shift motor bracket nuts.
    • Tighten to 3 Nm (27 lb-in).
  29. NOTE: After the coil wire is inserted into the connector, gently pull the wire back to verify the pin is locked inside the connector.

    Insert the coil wire pin in the electrical connector and install the inner connector retainer.

    Fig 24: Locating Electric Shift Motor Electrical Connector Coil Wire
    G06128102Courtesy of FORD MOTOR CO.
  30. Remove the transfer case from the Transmission Holding Fixture.
    Fig 25: Removing Transfer Case From Transmission Holding Fixture
    G06171739Courtesy of FORD MOTOR CO.