LEMON Manuals: Even more car manuals for everyone: 1960-2025
Home >> Ford >> 2012 >> Taurus Limited, AWD >> Repair and Diagnosis >> External Pages >> Different car >> Section 937 (Anti-Lock Brake System) >> Removal And Installation >> Anti-Lock Brake System (ABS) Module >> Removal And Installation
April 5, 2026: LEMON Manuals is launched! Read the announcement.

Removal And Installation

WARNING: This page is about a different car, the 2007 Ford Ranger. However, it is still accessible from the selected car via links, so may be relevant.
  1. Remove the hydraulic control unit (HCU). For additional information, refer to Hydraulic Control Unit (HCU) .
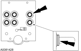
  2. Fig 1: Identifying Anti-Lock Brake System Module Bolts Removing Sequence
    GF0009938Courtesy of FORD MOTOR CO.
    NOTE: The anti-lock brake system (ABS) module bolts must be removed and installed in the sequence shown.
  3. Remove the 4 anti-lock brake system (ABS) module bolts in the sequence shown.
    • To install, tighten to 3 Nm (27 lb-in).
  4. CAUTION: When the ABS module is separated from the HCU, the motor terminals and the valve stems will be exposed. Protect the terminals and the valve stems from damage.
  5. Remove the ABS module from the HCU.
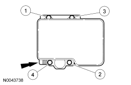
  6. Fig 2: Locating O-Ring Seals
    GF0009939Courtesy of FORD MOTOR CO.
  7. Remove and discard the O-ring seals.
  8. Fig 3: Identifying ABS Module Sealing
    GF0009940Courtesy of FORD MOTOR CO.
  9. Remove and discard the ABS module seal.
  10. CAUTION: All components must be free of dust, oil, fluid and foreign material.
    CAUTION: A new seal kit must be used when installing the ABS module. The old seals must be discarded as they may cause a leak between the ABS module and the HCU.
    NOTE: The O-ring seals must be installed to the valve flange. Make sure there is no twist to the O-ring seal when installed.
    NOTE: Clean the groove of the ABS module before installing a new seal.
  11. To install, reverse the removal procedure.