LEMON Manuals: Even more car manuals for everyone: 1960-2025
Home >> Ford >> 2012 >> Taurus SE >> Repair and Diagnosis >> External Pages >> Different car >> Section 865 (Front Disc Brake System) >> Removal And Installation >> Front Disc Brake Shield >> Notes
April 5, 2026: LEMON Manuals is launched! Read the announcement.

Front Disc Brake Shield: Notes

WARNING: This page is about a different car, the 2007 Ford Ranger. However, it is still accessible from the selected car via links, so may be relevant.
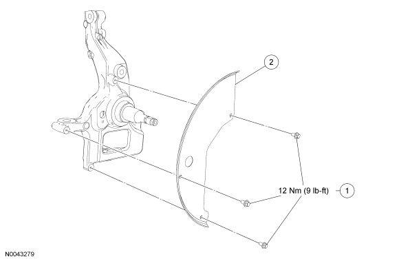
NOTE: Rear wheel drive (RWD) shown, four wheel drive (4WD) similar.
Fig 1: Brake Disc Shield With Torque Specifications
GF0009922Courtesy of FORD MOTOR CO.
Item Part Number Description
1 N611171 Brake disc shield bolts (3 required)
2 2K004 LH/ 2K005 RH Brake disc shield