LEMON Manuals: Even more car manuals for everyone: 1960-2025
Home >> Ford >> 2012 >> Taurus SHO >> Repair and Diagnosis >> External Pages >> Different car >> Section 2435 (OEM Connector End Views) >> Steering Column Control Module (SCCM) Connector End View (C2414A)
April 5, 2026: LEMON Manuals is launched! Read the announcement.

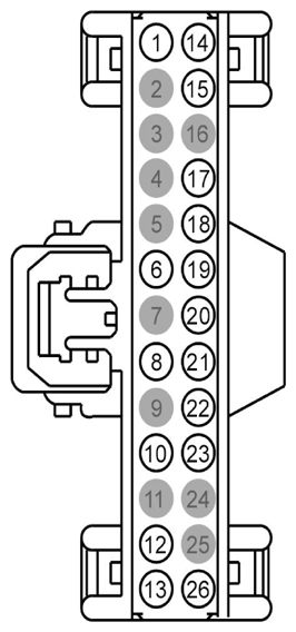
Steering Column Control Module (SCCM) Connector End View (C2414A)

WARNING: This page is about a different car, the 2013 Ford F-150. However, it is still accessible from the selected car via links, so may be relevant.
Fig 1: Steering Column Control Module Connector End View (C2414A)
G08753824Courtesy of FORD MOTOR CO.
Pin Circuit Gauge Circuit Function Qualifier
1 CLF21 (GY-VT) 22 SWITCH - FOG LAMPS FRONT  
2 * * Not Used  
3 * * Not Used  
4 * * Not Used  
5 * * Not Used  
6 CLN55 (YE-VT) 22 CTRL MOD. - AMBIENT LIGHTING TOGGLE  
7 * * Not Used  
8 CRH04 (VT-GN) 22 CTRL MOD. - RELAY HORN  
9 * * Not Used  
10 SBP23 (WH-RD) 18 FUSE - 23 OR CIRCUIT BREAKER  
11 * * Not Used  
12 CRW15 (BN-WH) 22 CTRL MOD. - FRONT WIPER HIGH  
13 GD133 (BK) 20 GROUND - PILLAR A LEFT  
14 VDB04 (WH-BU) 22 CONNECTOR - DIAGNOSTIC # CAN BUS HIGH SPEED HIGH  
15 VDB05 (WH) 22 CONNECTOR - DIAGNOSTIC # CAN BUS HIGH SPEED LOW  
16 * * Not Used  
17 CLF19 (VT) 22 SWITCH - AUTOLAMP ON  
18 CLF24 (YE) 22 SWITCH - HEADLAMP ON  
19 CLN56 (BN-VT) 22 CTRL MOD. - AMBIENT LIGHTING DIM DOWN  
20 VDN05 (YE-GY) 20 CTRL MOD. - LIN BUS # STEERING WHEEL CONTROL MODULE 1  
21 CLF23 (WH-VT) 22 SWITCH - HEADLAMP OFF  
22 CLS34 (GY) 22 SWITCH - PARK LAMPS  
23 VLN36 (GY-OG) 20 SWITCH - DOME LAMP DEFEAT (DISABLE) (OVERRIDE)  
24 * * Not Used  
25 * * Not Used  
26 RLN29 (WH-OG) 22 CTRL MOD. - DOME LAMP