LEMON Manuals: Even more car manuals for everyone: 1960-2025
Home >> Ford >> 2012 >> Transit Connect Base, Van Cargo >> Repair and Diagnosis >> Engine Performance >> System >> Engine Controls - Description & Operation (Except Diesel & Hybrid) >> Intake Air Systems >> Overview
April 5, 2026: LEMON Manuals is launched! Read the announcement.

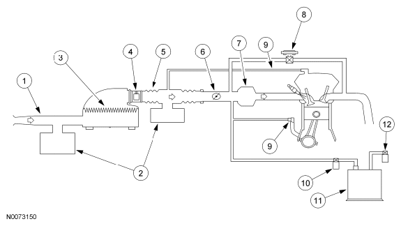
Intake Air Systems: Overview

The intake air system provides clean air to the engine, optimizes airflow, and reduces unwanted induction noise. The intake air system consists of an air cleaner assembly, resonator assemblies, and hoses. Some vehicles use a hydrocarbon filter trap to help reduce emissions by preventing fuel vapor from escaping into the atmosphere from the intake when the engine is OFF. It is typically located inside the intake air system. The mass airflow (MAF) sensor is attached to the air cleaner assembly and measures the volume of air delivered to the engine. The hydrocarbon trap is part of the evaporative emission (EVAP) system. For more information on the EVAP system, refer to EVAPORATIVE EMISSION (EVAP) SYSTEMS . The MAF sensor can be replaced as an individual component. The intake air system also contains a sensor that measures the intake air temperature (IAT), which is integrated with the MAF sensor. For additional information on the intake air system components, refer to ENGINE CONTROL COMPONENTS . Intake air components can be separate components or part of the intake air housing. The function of a resonator is to reduce induction noise. The intake air components are connected to each other and to the throttle body assembly with hoses.

Fig 1: Typical Intake Air System Diagram
G06290547Courtesy of FORD MOTOR CO.
Intake Air System Component
1 Air Cleaner Intake Pipe
2 Intake Air Resonator
3 Air Cleaner Element
4 Mass Airflow/Intake Air Temperature
5 Air Cleaner Outlet
6 Throttle Body
7 Upper Intake Manifold
8 Exhaust Gas Recirculation (EGR)
9 Positive Crankcase Ventilation (PCV)
10 EVAP Purge Valve
11 EVAP Canister
12 EVAP Canister Vent Valve (If Equipped)