LEMON Manuals: Even more car manuals for everyone: 1960-2025
Home >> Ford >> 2013 >> Escape S >> Repair and Diagnosis >> External Pages >> Different car >> Section 220 (OEM Connector End Views) >> Blower Motor Control Module Connector End View (C297A)
April 5, 2026: LEMON Manuals is launched! Read the announcement.

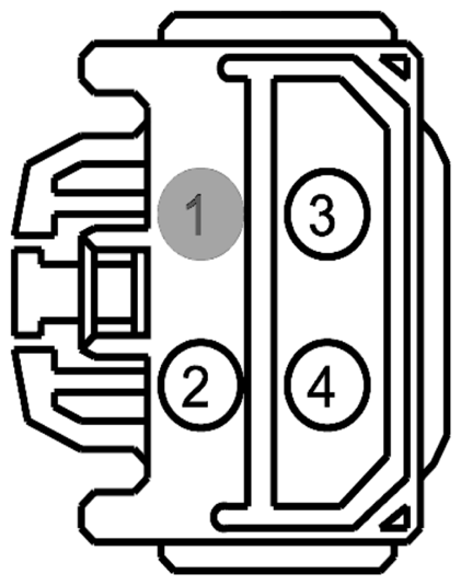
Blower Motor Control Module Connector End View (C297A)

WARNING: This page is about a different car, the 2014 Ford Escape. However, it is still accessible from the selected car via links, so may be relevant.
Fig 1: Identifying Blower Motor Control Module Connector (C297A)
G09223570Courtesy of FORD MOTOR CO.
Pin Circuit Gauge Circuit Function Qualifier
1 * * Not Used  
2 GD138 (BK-WH) 10 GROUND - COWL SIDE/PILLAR A RIGHT (6L2T)  
3 VH101 (WH-VT) 18 CTRL MOD. - CLIMATE # BLOWER MOTOR CONTROL  
4 CH402 (YE-GN) 10 RELAY - FRONT BLOWER  
Available Pigtail Kits  
Pigtail Kit Part Number WPT-1177 
G09223571
Service Part Number: AU2Z-14S411-BHA 
Gauge: 10 
Pin material: Tin 
Cavities:
Vehicle Uses
  • Resistor - Blower Motor (Front)
  • Switch - Heater/A/C Blower (Front)