LEMON Manuals: Even more car manuals for everyone: 1960-2025
Home >> Ford >> 2013 >> Explorer Police Interceptor, AWD >> Repair and Diagnosis >> External Pages >> Different variant/trim >> Section 7 (Automatic Transmission - 6F35) >> Description And Operation >> Electrical System - 6F35 >> System Operation >> Notes
April 5, 2026: LEMON Manuals is launched! Read the announcement.

System Operation: Notes

WARNING: This page is about a different variant/trim than selected.
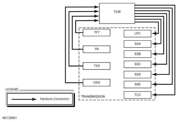
Fig 1: TCM Communication Diagram
G08030624Courtesy of FORD MOTOR CO.

The TCM  and its input/output network controls the following operations:

This transmission is controlled by a standalone TCM  . This transmission is controlled by 7 solenoids, SSA  , SSB  , SSC  , SSD  , SSE  , LPC  solenoid and the TCC  solenoid. To control the transmission, the TCM  uses inputs from the TFT  sensor, TR  sensor, TSS  sensor and the OSS  sensor. The TCM  also uses engine inputs from the HS-CAN  signal for gear and TCC  scheduling and control.