LEMON Manuals: Even more car manuals for everyone: 1960-2025
Home >> Ford >> 2013 >> Fiesta SE, 4D Hatchback, Standard Trans >> Repair and Diagnosis >> Transmission >> Manual Trans >> Manual Transaxle >> Disassembly And Assembly Of Subassemblies >> Differential >> Notes
April 5, 2026: LEMON Manuals is launched! Read the announcement.

Disassembly And Assembly Of Subassemblies: Differential: Notes

SPECIAL TOOLS DESCRIPTION

G08867433
Remover, Wheel Knuckle
205-253 (T87C-1104-A)
G08867434
Puller, Drive Pinion/Differential Carrier
205-D036 (D81L-4220-A)
G08867435
Handle
205-153 (T80T-4000-W)
G08867436
Installer, Differential Bearing Cup
308-162 (T88C-77000-C)
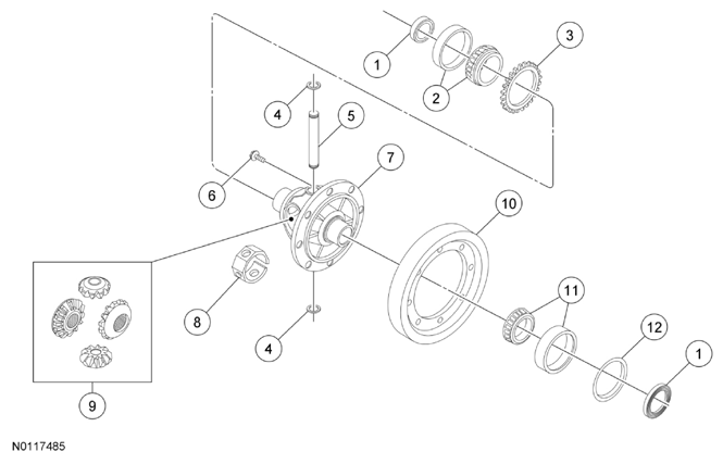
Fig 1: Identifying Differential Related Components
G08867437Courtesy of FORD MOTOR CO.
Item Part Number Description
1 1177 Differential seal
2 4221 Differential bearing
3 17285 Speed sensor trigger wheel
4 E860187 Retainer
5 4211 Differential pinion shaft
6 W700427 Differential bolt
7 4205 Differential case
8 4K322 Differential case lining
9 - Differential pinion gears (part of 4026)
10 7F343 Differential ring gear
11 4220 Differential bearing
12 4228 Differential cup