LEMON Manuals: Even more car manuals for everyone: 1960-2025
Home >> Ford >> 2013 >> Fiesta Titanium, 4D Hatchback, Automatic DCT Trans >> Repair and Diagnosis (Single Page) >> Accessories & Equipment >> Anti-Theft Systems >> Anti-Theft System - Passive Anti-Theft System >> Diagnosis And Testing >> Anti-Theft - With Intelligent Access (IA) >> Principles of Operation >> Push Button Start Components >> Push Button Start Operation
April 5, 2026: LEMON Manuals is launched! Read the announcement.

Push Button Start Operation

Fig 1: Push Button Start Operation Chart
G06938460Courtesy of FORD MOTOR CO.

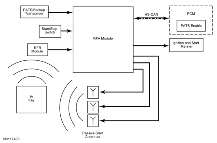
The Passive Anti-Theft System (PATS) function is controlled by the RFA module and PCM.

When the start/stop switch is pressed, the RFA module initiates the key initialization sequence by activating the 3 interior IA passive start antennas. Each passive start antenna transmits a low frequency signal approximately 1 m (3 ft) radius of each antenna. If an IA key is within range of 1 of the 3 interior passive start antennas, the IA key is activated. Once the IA key is activated, it sends the PATS identification code to the Remote Functions Receiver (RFR) module via a high frequency signal. The RFR module interprets the high frequency signal from the IA key and sends the information to the RFA module over a dedicated network. If the RFA module determines that a programmed IA key is inside the vehicle, it allows the ignition to be transitioned out of off. When the ignition is turned on and the PCM initializes, the RFA module and the PCM exchange their IDs over the High Speed Controller Area Network (HS-CAN). If the RFA module receives a valid key code and the correct ID from the PCM, PATS is enabled and allows the engine to start. If PATS disables the engine from starting, the anti-theft indicator in the IPC flashes rapidly.

PATS and the RKE system share the operation of several components including the IA key and the RFR module. If there is a concern with either of these components, both PATS and the RKE system are affected. Refer to HANDLES, LOCKS, LATCHES AND ENTRY SYSTEMS for information on the RKE and IA features.

The RFA module also controls the ignition modes and in conjunction with the PCM controls the starting system. If there is a concern with starting system or the ignition modes, and PATS has been eliminated as the cause, refer to STARTING SYSTEM for a starting system concern or STEERING COLUMN SWITCHES for the ignition modes.