LEMON Manuals: Even more car manuals for everyone: 1960-2025
Home >> Ford >> 2013 >> Fiesta Titanium, 4D Hatchback, Automatic DCT Trans >> Repair and Diagnosis (Single Page) >> Engine Performance >> System >> Engine Controls - Pinpoint Test FD: Brake Pedal Inputs Through Pinpoint Test JB: Secondary Ignition (Cop) - (Except Diesel & Hybrid) >> Pinpoint Test H: Fuel Control >> Introduction >> Heated Oxygen Sensor-Rear (HO2S-Rear) Connector
April 5, 2026: LEMON Manuals is launched! Read the announcement.

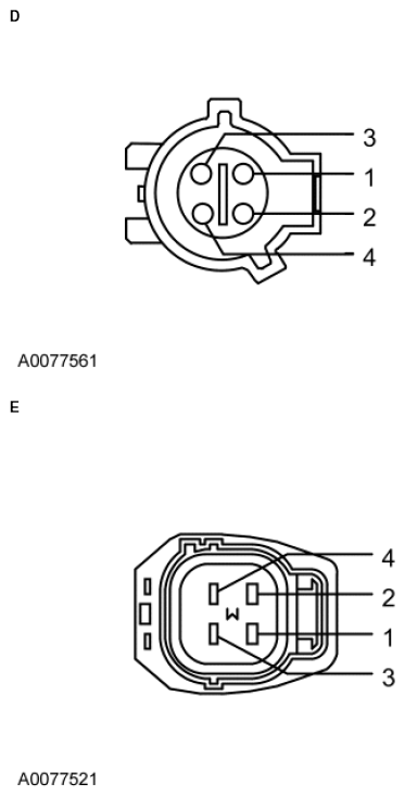
Heated Oxygen Sensor-Rear (HO2S-Rear) Connector

The pin numbering for the connector is in reference to the connector lock tab. Not all connector key combinations are shown in illustration.

Fig 1: Identifying Heated Oxygen Sensor-Rear (HO2S-Rear) Connector (1 Of 3)
G08291494Courtesy of FORD MOTOR CO.
Fig 2: Identifying Heated Oxygen Sensor-Rear (HO2S-Rear) Connector (2 Of 3)
G08291495Courtesy of FORD MOTOR CO.
Fig 3: Identifying Heated Oxygen Sensor-Rear (HO2S-Rear) Connector (3 Of 3)
G08291496Courtesy of FORD MOTOR CO.
Fig 4: Identifying Universal HO2S-Front Connector
G08291497Courtesy of FORD MOTOR CO.