LEMON Manuals: Even more car manuals for everyone: 1960-2025
Home >> Ford >> 2013 >> Fiesta Titanium, 4D Hatchback, Automatic DCT Trans >> Repair and Diagnosis (Single Page) >> Engine Performance >> Testing & Diagnosis >> Engine Controls - Pinpoint Test A: No Start Through Pinpoint Test DN: Pressure And Temperature Sensors - (Except Diesel & Hybrid) >> Pinpoint Test B: Powertrain Control Module (PCM) Power Relay >> Introduction >> Notes
April 5, 2026: LEMON Manuals is launched! Read the announcement.

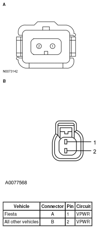
Pinpoint Test B: Powertrain Control Module (PCM) Power Relay: Introduction: Notes

This pinpoint test is intended to diagnose the following: