LEMON Manuals: Even more car manuals for everyone: 1960-2025
Home >> Ford >> 2013 >> Flex SE >> Repair and Diagnosis >> Engine Mechanical >> Mechanical >> Engine System - General Information >> General Procedures >> Core Plug Replacement
April 5, 2026: LEMON Manuals is launched! Read the announcement.

Core Plug Replacement

SPECIAL TOOLS

G06064997
Slide Hammer
100-001 (T50T-100-A)
MATERIAL SPECIFICATIONS

Item Specification
Threadlock 262
TA-26
WSK-M2G351-A6

All core plugs

  1. NOTE: Cylinder block core plug shown in illustration, cylinder head core plug similar.

    Use the Slide Hammer and a freeze plug remover to remove the core plug.

    Fig 1: Removing Core Plug Using Suitable Tool
    G06064121Courtesy of FORD MOTOR CO.
  2. NOTE: Oversize plugs are identified by the OS stamped in the flat located on the cup side of the plug.

    Inspect the core plug bore for any damage that would interfere with the correct sealing of the plug. If the core plug bore is damaged, bore for the next oversize plug.

    Cup-type 

  3. NOTE: Use care during this procedure so as not to disturb or distort the cup sealing surface.
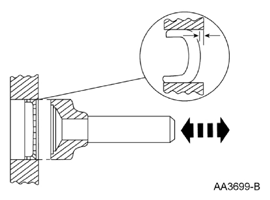
    NOTE: When installed, the flanged edge must be below the chamfered edge of the bore to effectively seal the bore.

    Coat the cup-type core plug and bore lightly with sealant and install the core plug using a freeze plug installer.

    Fig 2: Installing Core Plug
    G06064122Courtesy of FORD MOTOR CO.

    Expansion-type 

  4. NOTE: Do not contact the crown when installing an expansion-type core plug. This could expand the plug before seating and result in leakage.

    Coat the expansion-type core plug and bore lightly with sealant and install the core plug using a freeze plug installer.

    Fig 3: Installing Core Plug Using Freeze Plug Installer
    G08624849Courtesy of FORD MOTOR CO.