LEMON Manuals: Even more car manuals for everyone: 1960-2025
Home >> Ford >> 2013 >> Flex SEL, AWD >> Repair and Diagnosis >> External Pages >> Different car >> Section 1231 (Anti-Lock Brake System) >> Diagnostic Tests >> Anti-Lock Control - Non-Hybrid >> Pinpoint Tests >> Pinpoint Test G: The Traction Control/Roll Stability Control System Cannot Be Disabled >> Pinpoint Test G: The Traction Control/Roll Stability Control System Cannot Be Disabled
April 5, 2026: LEMON Manuals is launched! Read the announcement.

Pinpoint Test G: The Traction Control/Roll Stability Control System Cannot Be Disabled

WARNING: This page is about a different car, the 2008 Mercury Mariner and 2008 Ford Escape. However, it is still accessible from the selected car via links, so may be relevant.
NOTE: Use the Flex Probe Kit for all test connections to prevent damage to the wiring terminals. Do not use standard multi-meter probes.
  1. G1 CHECK THE STABILITY/TRACTION CONTROL SWITCH 
    • Key in OFF position.
    • Disconnect: Stability/Traction Control Switch C2355
    • Measure the resistance between the stability/traction control switch C2355, pin-7, component side and C2355, pin-1, component side while pressing and releasing the switch.
    • Is the resistance greater than 10,000 ohms with the switch released and less than 5 ohms with the switch pressed? 
    1. YES  : Go to  G2.
    2. NO  : INSTALL a new stability/traction control switch. REFER to Stability/Traction Control Switch  . TEST the system for normal operation.
  2. G2 CHECK CIRCUIT CCA15 (YE/GY) FOR AN OPEN 
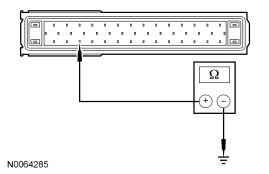
    • Disconnect: ABS Module C155
    • Measure the resistance between the ABS module C155-4, circuit CCA15 (YE/GY), harness side and stability/traction control switch C2355-7, circuit CCA15 (YE/GY), harness side.
    • Fig 1: Measuring Resistance
      GF0042294Courtesy of FORD MOTOR CO.
    • Is the resistance less than 5 ohms? 
    1. YES  : Go to  G3.
    2. NO  : REPAIR circuit CCA15 (YE/GY). TEST the system for normal operation.
  3. G3 CHECK CIRCUIT CCA15 (YE/GY) FOR A SHORT TO GROUND 
    • Measure the resistance between the ABS module C155-4, circuit CCA15 (YE/GY), harness side and ground.
    • Fig 2: Measuring Resistance
      GF0042295Courtesy of FORD MOTOR CO.
    • Is the resistance greater than 10,000 ohms? 
    1. YES  : Go to  G4.
    2. NO  : REPAIR circuit CCA15 (YE/GY). TEST the system for normal operation.
  4. G4 CHECK CIRCUIT GD114 (BK/BU) FOR AN OPEN 
    • Measure the resistance between the stability/traction control switch C2355-1, circuit GD114 (BK/BU), harness side and ground.
    • Fig 3: Measuring Resistance
      GF0042296Courtesy of FORD MOTOR CO.
    • Is the resistance less than 5 ohms? 
    1. YES  : Go to  G5.
    2. NO  : REPAIR circuit GD114 (BK/BU). TEST the system for normal operation.
  5. G5 CHECK FOR CORRECT ABS MODULE OPERATION 
    • Disconnect all the ABS connectors.
    • Check for:
      • corrosion.
      • pushed-out pins.
      • spread terminals.
    • Connect all the ABS connectors and make sure they seat correctly.
    • Operate the system and verify the concern is still present.
    • Is the concern still present? 
    1. YES  : INSTALL a new ABS module. REFER to Anti-Lock Brake System (ABS) Module . TEST the system for normal operation.
    2. NO  : The system is operating correctly at this time. The concern may have been caused by a loose or corroded connector. CLEAR the DTCs. REPEAT the self-test.