LEMON Manuals: Even more car manuals for everyone: 1960-2025
Home >> Ford >> 2013 >> Focus S, Standard Trans, Gas/Ethanol >> Repair and Diagnosis (Single Page) >> Electrical >> Body Electrical >> OEM Wiring Diagrams Component Testing - Except Electric >> Component Testing >> Relay - Micro ISO >> Schematic
April 5, 2026: LEMON Manuals is launched! Read the announcement.

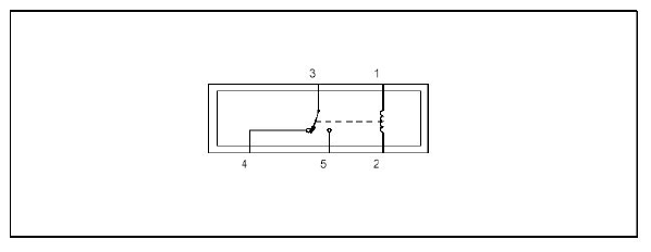
Relay - Micro ISO: Schematic

Fig 1: Relay - Micro ISO Schematic
G08744453Courtesy of FORD MOTOR CO.