LEMON Manuals: Even more car manuals for everyone: 1960-2025
Home >> Ford >> 2014 >> Escape S >> Repair and Diagnosis >> Electrical >> Body Electrical >> OEM Connector End Views >> Blower Motor Control Module Connector End View (C297B)
April 5, 2026: LEMON Manuals is launched! Read the announcement.

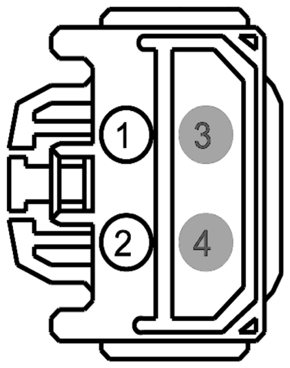
Blower Motor Control Module Connector End View (C297B)

Fig 1: Identifying Blower Motor Control Module Connector (C297B)
G09223572Courtesy of FORD MOTOR CO.
Pin Circuit Gauge Circuit Function Qualifier
1 * (*) * BLOWER MOTOR DRIVER DATC  
2 * (*) * BLOWER MOTOR RETURN DATC  
3 * * Not Used  
4 * * Not Used  
Available Pigtail Kits  
Pigtail Kit Part Number WPT-1177 
G09223573
Service Part Number: AU2Z-14S411-BHA 
Gauge: 10 
Pin material: Tin 
Cavities:
Vehicle Uses
  • Resistor - Blower Motor (Front)
  • Switch - Heater/A/C Blower (Front)