LEMON Manuals: Even more car manuals for everyone: 1960-2025
Home >> Ford >> 2014 >> Flex SEL, AWD >> Repair and Diagnosis >> Quick Lookups >> Wiring Diagrams >> OEM Connector End Views >> Liftgate/Trunk Module (LTM) Connector End View (C4174B)
April 5, 2026: LEMON Manuals is launched! Read the announcement.

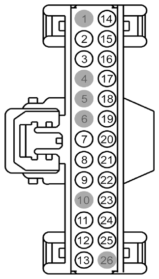
Liftgate/Trunk Module (LTM) Connector End View (C4174B)

Fig 1: Identifying Liftgate/Trunk Module Connector (C4174B)
G09253365Courtesy of FORD MOTOR CO.
Pin Circuit Gauge Circuit Function Qualifier
1 * * Not Used  
2 CPR68 (YE) 22 LATCH - LIFTGATE # SECTOR GEAR SWITCH 2  
3 CPR63 (GY-YE) 22 SWITCH - POWER LIFTGATE # OPEN/CLOSE  
4 * * Not Used  
5 * * Not Used  
6 * * Not Used  
7 VPR53 (BU) 26 SENSOR - POWER LIFTGATE # OPTICAL/HALL 1  
8 VPR54 (BN) 26 SENSOR - POWER LIFTGATE # OPTICAL/HALL 2  
9 RPR56 (GY-VT) 22 CTRL MOD. - POWER LIFTGATE # CHIME -  
10 * * Not Used  
11 CPR89 (BN-BU) 22 SWITCH - POWER LIFTGATE # OPEN/CLOSE #2 (REAR)  
12 CPR52 (YE-VT) 22 SWITCH - POWER LIFTGATE # OBSTACLE DETECT - LEFT  
13 CPR67 (VT) 22 LATCH - LIFTGATE # SECTOR GEAR SWITCH 1  
14 CPR51 (YE-OG) 22 SWITCH - POWER LIFTGATE # OBSTACLE DETECT - RIGHT  
15 CPL44 (YE-OG) 22 SWITCH - LIFTGATE/DECKLID/CARGO # AJAR  
16 CPR66 (GY-YE) 22 LATCH - LIFTGATE # RATCHET SWITCH  
17 CPR65 (BU-GN) 22 LATCH - LIFTGATE # LATCH SWITCH FULL  
18 CPR64 (VT-OG) 22 LATCH - LIFTGATE # LATCH SWITCH HALF  
19 CPR55 (GN) 26 CTRL MOD. - POWER LIFTGATE # SENSOR POWER  
20 RPR55 (WH) 26 CTRL MOD. - POWER LIFTGATE # SENSOR RETURN  
21 RPR52 (VT-GY) 22 SWITCH - POWER LIFTGATE # OBSTACLE DETECT -  
22 CPR56 (VT-BN) 22 CTRL MOD. - POWER LIFTGATE # CHIME +  
23 VDB07 (VT) 26 CONNECTOR - DIAGNOSTIC # CAN BUS MEDIUM SPEED LOW  
24 VDB06 (GY) 26 CONNECTOR - DIAGNOSTIC # CAN BUS MEDIUM SPEED HIGH  
25 CPL84 (GN-BN) 18 RELAY - LIFTGATE/DECKLID RELEASE  
26 * * Not Used