LEMON Manuals: Even more car manuals for everyone: 1960-2025
Home >> Ford >> 2014 >> Mustang Base, 2D Convertible, Automatic Trans >> Repair and Diagnosis >> External Pages >> Different car >> Section 104 (Transfer Case) >> Disassembly And Assembly >> Transfer Case - Electronic Shift >> Assembly
April 5, 2026: LEMON Manuals is launched! Read the announcement.

Transfer Case - Electronic Shift: Assembly

WARNING: This page is about a different car, the 2013 Ford F-550 Super Duty, 2013 Ford F-450 Super Duty, 2013 Ford F-350 Super Duty, and 2013 Ford F-250 Super Duty. However, it is still accessible from the selected car via links, so may be relevant.

All vehicles 

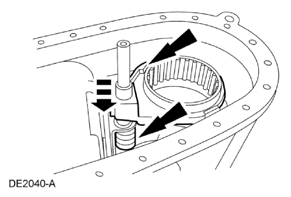
  1. Install the sector assembly. On the electric shift transfer case, install the plastic retainer and the O-ring.
    Fig 1: Locating Sector Assembly
    G08598977Courtesy of FORD MOTOR CO.
  2. NOTE: If installing a new poppet spring, it must be like in color to the original poppet spring.

    Assemble the poppet screw, the spring and the poppet.

    Fig 2: Locating Poppet, Spring And Screw
    G08598978Courtesy of FORD MOTOR CO.
  3. Install the poppet assembly.
    • Tighten to 20 Nm (177 lb-in).
      Fig 3: Locating Poppet Assembly
      G08598979Courtesy of FORD MOTOR CO.
  4. Install the rear input gear thrust washer.
    Fig 4: Locating Rear Input Gear Thrust Washer
    G08598980Courtesy of FORD MOTOR CO.
  5. Install the front input gear thrust washer.
    Fig 5: Locating Front Input Gear Thrust Washer
    G08598981Courtesy of FORD MOTOR CO.
  6. NOTE: Install the lock plate with the stamped letter E facing outward.

    Install the lock plate.

    Fig 6: Locating Lock Plate
    G08598982Courtesy of FORD MOTOR CO.
  7. Place the input gear into the planetary carrier assembly.
    Fig 7: Locating Input Gear
    G08598983Courtesy of FORD MOTOR CO.
  8. Install a new lock plate retaining ring.
    Fig 8: Locating Lock Plate Retaining Ring
    G08598984Courtesy of FORD MOTOR CO.
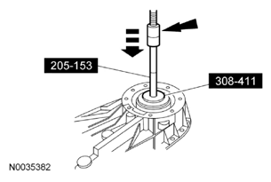
  9. Using the Input Shaft Bearing Installer with the Handle and a suitable press, install a new front input bearing.
    Fig 9: Installing Front Input Bearing Using Tools
    G08598985Courtesy of FORD MOTOR CO.
  10. Install a new bearing retainer ring.
    Fig 10: Locating Bearing Retainer Ring
    G08598986Courtesy of FORD MOTOR CO.
  11. Position the planetary assembly into the front case.
    Fig 11: Locating Planetary Assembly
    G08598987Courtesy of FORD MOTOR CO.

    Vehicles equipped with TorqShift® transmission 

  12. Install a new retaining ring.
    1. Install the Input Shaft Snap Ring Sleeve.
    2. Install a new retaining ring.
      Fig 12: Installing Retaining Ring
      G08598988Courtesy of FORD MOTOR CO.
  13. Using the Input Shaft Oil Seal Installer and the Handle, install a new input seal.
    Fig 13: Installing Input Seal Using Input Shaft Oil Seal Installer And Handle
    G08598989Courtesy of FORD MOTOR CO.

    Vehicles equipped with TorqShift®6 transmission 

  14. Install a new retaining ring.
    1. Install the Input Shaft Snap Ring Sleeve.
    2. Install a new retaining ring.
      Fig 14: Installing Retaining Ring
      G08598990Courtesy of FORD MOTOR CO.
  15. Using the Input Shaft Oil Seal Installer and the Handle, install a new input seal.
    Fig 15: Installing Input Seal Using Input Shaft Oil Seal Installer And Handle
    G08598991Courtesy of FORD MOTOR CO.

    All vehicles 

  16. Using the Output Shaft Front Bearing Installer with the Handle and a suitable press, install a new front output ball bearing.
    Fig 16: Installing Front Output Ball Bearing Using Tools
    G08598992Courtesy of FORD MOTOR CO.
  17. Install a new front output ball bearing retaining ring.
    Fig 17: Locating Front Output Ball Bearing Retaining Ring
    G08598993Courtesy of FORD MOTOR CO.
  18. Position the front output shaft in the front case.
    Fig 18: Locating Front Output Shaft
    G08598994Courtesy of FORD MOTOR CO.
  19. Install a new retaining ring.
    1. Install the Output Shaft Front Snap Ring Sleeve.
    2. Install a new retaining ring.
      Fig 19: Installing Retaining Ring
      G08598995Courtesy of FORD MOTOR CO.
  20. Using the Output Shaft Oil Seal Installer with the Handle, install a new front output seal.
    Fig 20: Installing Front Output Seal Using Output Shaft Oil Seal Installer And Handle
    G08598996Courtesy of FORD MOTOR CO.
  21. Using the Output Shaft Oil Slinger Installers, install a new slinger on the front flange, if removed.
    Fig 21: Installing Slinger On Front Flange Using Output Shaft Oil Slinger Installers
    G08598997Courtesy of FORD MOTOR CO.
  22. Using the Drive Pinion Flange Holding Fixture to prevent the flange from turning, install the front flange and a new front output nut.
    • Tighten to 223 Nm (164 lb-ft).
      Fig 22: Installing Front Flange And Front Output Nut Using Tools
      G08598998Courtesy of FORD MOTOR CO.
  23. NOTE: Rotate the sector assembly to the 4-wheel high position for easy installation.

    Position the range fork assembly and the range shift sleeve in the front case.

    Fig 23: Locating Range Fork Assembly And Range Shift Sleeve
    G08598999Courtesy of FORD MOTOR CO.
  24. Position the drive sprocket hub on the mainshaft.
    Fig 24: Locating Mainshaft Drive Sprocket Hub
    G08599000Courtesy of FORD MOTOR CO.
  25. Position the inner ring on the drive sprocket.
    Fig 25: Locating Drive Sprocket Inner Ring
    G08599001Courtesy of FORD MOTOR CO.
  26. Position the middle ring on the inner ring.
    Fig 26: Locating Middle Ring
    G08599002Courtesy of FORD MOTOR CO.
  27. Position the outer ring on the middle ring.
    Fig 27: Locating Outer Ring
    G08599003Courtesy of FORD MOTOR CO.
  28. Position and rotate the synchronizer hub until it drops into the installed position. Install a new retaining ring.
    Fig 28: Locating Synchronizer Hub Retaining Ring
    G08599004Courtesy of FORD MOTOR CO.
  29. NOTE: The thin side of the synchronizer or mode sleeve must face upward.

    Assemble the mode fork, the shift rail and the synchronizer sleeve.

    Fig 29: Locating Mode Fork, Shift Rail And Sleeve
    G08599005Courtesy of FORD MOTOR CO.
  30. NOTE: The shift rail must bottom in the case.

    Install the mode fork and the shift rail assembly in the front case.

    Fig 30: Installing Mode Fork And Shift Rail Assembly In Front Case
    G08599006Courtesy of FORD MOTOR CO.
  31. NOTE: Install the mainshaft assembly so that the synchronizer strut bears against one of the synchronizer sleeve teeth.

    Install the mainshaft.

    Fig 31: Installing Mainshaft
    G08599007Courtesy of FORD MOTOR CO.
  32. Install the clutch gear.
    Fig 32: Installing Clutch Gear
    G08599008Courtesy of FORD MOTOR CO.
  33. Install the drive sprocket, the driven sprocket and the drive chain as an assembly.
    Fig 33: Installing Drive Sprocket, Driven Sprocket And Drive Chain
    G08599009Courtesy of FORD MOTOR CO.
  34. Install the mode spring.
    Fig 34: Locating Mode Spring
    G08599010Courtesy of FORD MOTOR CO.
  35. Install a new drive sprocket retaining ring.
    Fig 35: Locating Drive Sprocket Retaining Ring
    G08599011Courtesy of FORD MOTOR CO.
  36. Install a new driven sprocket retaining ring.
    Fig 36: Locating Driven Sprocket Retaining Ring
    G08599012Courtesy of FORD MOTOR CO.
  37. Using the Output Shaft Rear Bearing Installer with the Handle and a suitable press, install a new ball bearing.
    Fig 37: Installing Ball Bearing Using Tools
    G08599013Courtesy of FORD MOTOR CO.
  38. Install a new ball bearing retaining ring.
    Fig 38: Locating Ball Bearing Retaining Ring
    G08599014Courtesy of FORD MOTOR CO.
  39. NOTE: The identification numbers on the bearing must face the Output Shaft Rear Bearing Installer with the Handle.

    Using the Output Shaft Rear Bearing Installer with the Handle and a suitable press, install a new needle bearing.

    Fig 39: Installing Needle Bearing Using Tools
    G08599015Courtesy of FORD MOTOR CO.
  40. Install the chip collector magnet.
    Fig 40: Locating Chip Collector Magnet
    G08599016Courtesy of FORD MOTOR CO.
  41. Install the oil tube.
    Fig 41: Locating Oil Tube
    G08599017Courtesy of FORD MOTOR CO.
  42. Clean both case mating surfaces with metal surface prep.
  43. NOTE: The silicone bead must be no larger than 2 mm (0.08 in) in diameter.
    The bead must be on the inside of the bolt holes, toward the inside of the case.

    Apply a bead of gasket and sealant to the joint face of the case.

  44. Position the rear case half onto the front case half.
    Fig 42: Locating Bead Of Silicone Gasket And Sealant Applying Area On Front Case Half Joint Face
    G08599018Courtesy of FORD MOTOR CO.
  45. NOTE: Use a crisscross pattern when tightening the bolts.

    Install the 25 new case bolts.

    • Tighten to 31 Nm (23 lb-ft).
      Fig 43: Locating Case Bolts
      G08599019Courtesy of FORD MOTOR CO.
  46. Install the new retaining ring.
    1. Install the Output Shaft Rear Snap Ring Sleeve.
    2. Install the new retaining ring.
      Fig 44: Installing Retaining Ring
      G08599020Courtesy of FORD MOTOR CO.
  47. NOTE: Prior to assembly, verify that the O-ring is in the oil pump pickup inlet.

    Slide the oil pump assembly onto the mainshaft and connect the oil tube.

    Fig 45: Locating Oil Pump Assembly And Oil Tube
    G08599021Courtesy of FORD MOTOR CO.
  48. NOTE: The identification numbers on the needle bearing must face the Transfer Case Needle Bearing Installer with the Handle.

    Using the Transfer Case Needle Bearing Installer with the Handle and a suitable press, install a new needle bearing.

    Fig 46: Installing Needle Bearing Using Tools
    G08599022Courtesy of FORD MOTOR CO.
  49. Clean the rear case and rear retainer mating surfaces with metal surface prep.
  50. Apply a bead of silicone gasket and sealant to the rear retainer joint face.
    Fig 47: Locating Bead Of Silicone Gasket And Sealant Applying Area On Rear Retainer Joint Face
    G08599023Courtesy of FORD MOTOR CO.
  51. Position the rear retainer on the rear case.
    Fig 48: Locating Rear Case Retainer
    G08599024Courtesy of FORD MOTOR CO.
  52. Install the 8 new rear retainer bolts.
    • Tighten to 31 Nm (23 lb-ft).
      Fig 49: Locating Rear Retainer Bolts
      G08599025Courtesy of FORD MOTOR CO.

    Vehicles equipped with a flange 

  53. Using the Output Shaft Oil Seal Installer with the Handle, install a new rear output seal.
    Fig 50: Installing Rear Output Seal Using Tools
    G08599026Courtesy of FORD MOTOR CO.
  54. Using the Output Shaft Oil Slinger Installers, install a new slinger on the rear flange, if removed.
    Fig 51: Installing Slinger On Rear Flange Using Output Shaft Oil Slinger Installers
    G08599027Courtesy of FORD MOTOR CO.
  55. Using the Drive Pinion Flange Holding Fixture to prevent the flange from turning, install the rear flange and a new rear output nut.
    • Tighten to 251 Nm (186 lb-ft).
      Fig 52: Installing Rear Flange And Output Nut Using Tools
      G08599028Courtesy of FORD MOTOR CO.

    Vehicles equipped with a slip yoke 

  56. Using a suitable driver, install the rear output seal.

    All vehicles 

  57. NOTE: Do not use air tools or damage to the plugs or case may occur.

    Install the drain and fill plugs.

    • Tighten to 27 Nm (20 lb-ft).
      Fig 53: Locating Drain And Fill Plugs
      G08599029Courtesy of FORD MOTOR CO.
  58. NOTE: Apply a coat of multi-purpose grease to the motor adapter.

    Install the gearmotor encoder assembly.

    • Tighten the gearmotor bolts to 20 Nm (177 lb-in).
      Fig 54: Locating Gearmotor Bolts
      G08599030Courtesy of FORD MOTOR CO.
  59. Remove the transfer case from the Transmission Holding Fixture.
    Fig 55: Removing Transfer Case From Transmission Holding Fixture
    G08599031Courtesy of FORD MOTOR CO.

    Vehicles equipped with TorqShift® transmission 

  60. Install a new retaining ring.
    1. Install the Input Shaft Snap Ring Sleeve.
    2. Install a new retaining ring.
      Fig 56: Installing Retaining Ring
      G08599032Courtesy of FORD MOTOR CO.
  61. Using the Input Shaft Oil Seal Installer and the Handle, install a new input seal.
    Fig 57: Installing Input Seal Using Input Shaft Oil Seal Installer And Handle
    G08599033Courtesy of FORD MOTOR CO.

    Vehicles equipped with TorqShift®6 transmission 

  62. Install a new retaining ring.
    1. Install the Input Shaft Snap Ring Sleeve.
    2. Install a new retaining ring.
      Fig 58: Installing Retaining Ring
      G08599034Courtesy of FORD MOTOR CO.
  63. Using the Input Shaft Oil Seal Installer and the Handle, install a new input seal.
    Fig 59: Installing Input Seal Using Input Shaft Oil Seal Installer And Handle
    G08599035Courtesy of FORD MOTOR CO.