LEMON Manuals: Even more car manuals for everyone: 1960-2025
Home >> Ford >> 2014 >> Mustang Base, 2D Convertible, Automatic Trans >> Repair and Diagnosis >> External Pages >> Different car >> Section 104 (Transfer Case) >> Disassembly And Assembly >> Transfer Case - Mechanical Shift >> Assembly
April 5, 2026: LEMON Manuals is launched! Read the announcement.

Transfer Case - Mechanical Shift: Assembly

WARNING: This page is about a different car, the 2013 Ford F-550 Super Duty, 2013 Ford F-450 Super Duty, 2013 Ford F-350 Super Duty, and 2013 Ford F-250 Super Duty. However, it is still accessible from the selected car via links, so may be relevant.

All vehicles 

  1. Install the sector assembly.
    Fig 1: Locating Sector Assembly
    G08598843Courtesy of FORD MOTOR CO.
  2. Install the lever, the washer and loosely install the locknut.
    Fig 2: Locating Locknut
    G08598844Courtesy of FORD MOTOR CO.
  3. NOTE: If installing a new poppet spring, it must be like in color to the original poppet spring.

    Assemble the poppet screw, the spring and the poppet.

    Fig 3: Locating Poppet, Spring And Screw
    G08598845Courtesy of FORD MOTOR CO.
  4. Install the poppet assembly.
    • Tighten to 20 Nm (177 lb-in).
      Fig 4: Locating Poppet Assembly
      G08598846Courtesy of FORD MOTOR CO.
  5. Install the rear input gear thrust washer.
    Fig 5: Locating Rear Input Gear Thrust Washer
    G08598847Courtesy of FORD MOTOR CO.
  6. Install the front input gear thrust washer.
    Fig 6: Locating Front Input Gear Thrust Washer
    G08598848Courtesy of FORD MOTOR CO.
  7. NOTE: Install the lock plate with the stamped letter E facing outward.

    Install the lock plate.

    Fig 7: Locating Lock Plate
    G08598849Courtesy of FORD MOTOR CO.
  8. Place the input gear into the planetary carrier assembly.
    Fig 8: Locating Input Gear
    G08598850Courtesy of FORD MOTOR CO.
  9. Install a new lock plate retaining ring.
    Fig 9: Locating Lock Plate Retaining Ring
    G08598851Courtesy of FORD MOTOR CO.
  10. Using the Input Shaft Bearing Installer with the Handle and a suitable press, install a new front input bearing.
    Fig 10: Installing Front Input Bearing Using Tools
    G08598852Courtesy of FORD MOTOR CO.
  11. Install a new bearing retainer ring.
    Fig 11: Locating Bearing Retainer Ring
    G08598853Courtesy of FORD MOTOR CO.
  12. Position the planetary assembly into the front case.
    Fig 12: Locating Planetary Assembly
    G08598854Courtesy of FORD MOTOR CO.

    Vehicles equipped with TorqShift® transmission 

  13. Install a new retaining ring.
    1. Install the Input Shaft Snap Ring Sleeve.
    2. Install a new retaining ring.
      Fig 13: Installing Retaining Ring
      G08598855Courtesy of FORD MOTOR CO.
  14. Using the Input Shaft Oil Seal Installer and the Handle, install a new input seal.
    Fig 14: Installing Input Seal Using Input Shaft Oil Seal Installer And Handle
    G08598856Courtesy of FORD MOTOR CO.

    Vehicles equipped with TorqShift®6 transmission 

  15. Install a new retaining ring.
    1. Install the Input Shaft Snap Ring Sleeve.
    2. Install a new retaining ring.
      Fig 15: Installing Retaining Ring
      G08598857Courtesy of FORD MOTOR CO.
  16. Using the Input Shaft Oil Seal Installer and the Handle, install a new input seal.
    Fig 16: Installing Input Seal Using Input Shaft Oil Seal Installer And Handle
    G08598858Courtesy of FORD MOTOR CO.

    All vehicles 

  17. Using the Output Shaft Front Bearing Installer with the Handle and a suitable press, install a new front output ball bearing.
    Fig 17: Installing Front Output Ball Bearing Using Tools
    G08598859Courtesy of FORD MOTOR CO.
  18. Install a new front output ball bearing retaining ring.
    Fig 18: Locating Front Output Ball Bearing Retaining Ring
    G08598860Courtesy of FORD MOTOR CO.
  19. Position the front output shaft in the front case.
    Fig 19: Locating Front Output Shaft
    G08598861Courtesy of FORD MOTOR CO.
  20. Install a new retaining ring.
    1. Install the Output Shaft Front Snap Ring Sleeve.
    2. Install a new retaining ring.
      Fig 20: Installing Retaining Ring
      G08598862Courtesy of FORD MOTOR CO.
  21. Using the Output Shaft Oil Seal Installer with the Handle, install a new front output seal.
    Fig 21: Installing Front Output Seal Using Output Shaft Oil Seal Installer And Handle
    G08598863Courtesy of FORD MOTOR CO.
  22. Using the Output Shaft Oil Slinger Installers, install a new slinger on the front flange, if removed.
    Fig 22: Installing Slinger On Front Flange Using Output Shaft Oil Slinger Installers
    G08598864Courtesy of FORD MOTOR CO.
  23. Using the Drive Pinion Flange Holding Fixture to prevent the flange from turning, install the front flange and a new front output nut.
    • Tighten to 223 Nm (164 lb-ft).
      Fig 23: Installing Front Flange And Front Output Nut Using Tools
      G08598865Courtesy of FORD MOTOR CO.
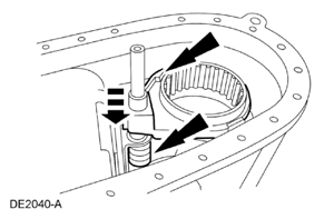
  24. NOTE: Rotate the sector assembly to the 4-wheel high position for easy installation.

    Position the range fork assembly and the range shift sleeve in the front case.

    Fig 24: Locating Range Fork Assembly And Range Shift Sleeve
    G08598866Courtesy of FORD MOTOR CO.
  25. Position the drive sprocket hub on the mainshaft.
    Fig 25: Locating Mainshaft Drive Sprocket Hub
    G08598867Courtesy of FORD MOTOR CO.
  26. Install the mode hub.
  27. NOTE: The thin side of the synchronizer or mode sleeve must face upward.

    Assemble the mode fork, the shift rail and the mode sleeve.

    Fig 26: Locating Mode Fork, Shift Rail And Sleeve
    G08598868Courtesy of FORD MOTOR CO.
  28. NOTE: The shift rail must bottom in the case.

    Install the mode fork and the shift rail assembly in the front case.

    Fig 27: Installing Mode Fork And Shift Rail Assembly In Front Case
    G08598869Courtesy of FORD MOTOR CO.
  29. NOTE: Install the mainshaft assembly so that the synchronizer strut bears against one of the mode sleeve teeth. If not installed correctly, the synchronizer will bind.

    Install the mainshaft.

    Fig 28: Installing Mainshaft
    G08598870Courtesy of FORD MOTOR CO.
  30. Install the clutch gear.
    Fig 29: Installing Clutch Gear
    G08598871Courtesy of FORD MOTOR CO.
  31. Install the drive sprocket, the driven sprocket and the drive chain as an assembly.
    Fig 30: Installing Drive Sprocket, Driven Sprocket And Drive Chain
    G08598872Courtesy of FORD MOTOR CO.
  32. Install the mode spring.
    Fig 31: Locating Mode Spring
    G08598873Courtesy of FORD MOTOR CO.
  33. Install a new drive sprocket retaining ring.
    Fig 32: Locating Drive Sprocket Retaining Ring
    G08598874Courtesy of FORD MOTOR CO.
  34. Install a new driven sprocket retaining ring.
    Fig 33: Locating Driven Sprocket Retaining Ring
    G08598875Courtesy of FORD MOTOR CO.
  35. Using the Output Shaft Rear Bearing Installer with the Handle and a suitable press, install a new ball bearing.
    Fig 34: Installing Ball Bearing Using Tools
    G08598876Courtesy of FORD MOTOR CO.
  36. Install a new ball bearing retaining ring.
    Fig 35: Locating Ball Bearing Retaining Ring
    G08598877Courtesy of FORD MOTOR CO.
  37. NOTE: The identification numbers on the bearing must face the Output Shaft Rear Bearing Installer and the Handle.

    Using the Output Shaft Rear Bearing Installer with the Handle and a suitable press, install a new needle bearing.

    Fig 36: Installing Needle Bearing Using Tools
    G08598878Courtesy of FORD MOTOR CO.
  38. Install the chip collector magnet.
    Fig 37: Locating Chip Collector Magnet
    G08598879Courtesy of FORD MOTOR CO.
  39. Install the oil tube.
    Fig 38: Locating Oil Tube
    G08598880Courtesy of FORD MOTOR CO.
  40. Clean both case mating surfaces with metal surface prep.
  41. NOTE: The silicone bead must be no larger than 2 mm (0.08 in) in diameter.
    The bead must be on the inside of the bolt holes, toward the inside of the case.

    Apply a bead of silicone gasket and sealant to the joint face of the case.

  42. Position the rear case half onto the front case half.
    Fig 39: Locating Bead Of Silicone Gasket And Sealant Applying Area On Front Case Half Joint Face
    G08598881Courtesy of FORD MOTOR CO.
  43. NOTE: Use a crisscross pattern when tightening the bolts.

    Install the 25 new case bolts.

    • Tighten to 31 Nm (23 lb-ft).
      Fig 40: Locating Case Bolts
      G08598882Courtesy of FORD MOTOR CO.
  44. Install the new retaining ring.
    1. Install the Output Shaft Rear Snap Ring Sleeve.
    2. Install the new retaining ring.
      Fig 41: Installing Retaining Ring
      G08598883Courtesy of FORD MOTOR CO.
  45. NOTE: Prior to assembly, verify that the O-ring is in the oil pump pickup inlet.

    Slide the oil pump assembly onto the mainshaft and connect the oil tube.

    Fig 42: Locating Oil Pump Assembly And Oil Tube
    G08598884Courtesy of FORD MOTOR CO.
  46. NOTE: The identification numbers on the needle bearing must face the Transfer Case Needle Bearing Installer and the Handle.

    Using the Transfer Case Needle Bearing Installer with the Handle and a suitable press, install a new needle bearing.

    Fig 43: Installing Needle Bearing Using Tools
    G08598885Courtesy of FORD MOTOR CO.
  47. Clean the rear case and rear retainer mating surfaces with metal surface prep.
  48. Apply a bead of silicone gasket and sealant to the rear retainer joint face.
    Fig 44: Locating Bead Of Silicone Gasket And Sealant Applying Area On Rear Retainer Joint Face
    G08598886Courtesy of FORD MOTOR CO.
  49. Position the rear retainer on the rear case.
    Fig 45: Locating Rear Case Retainer
    G08598887Courtesy of FORD MOTOR CO.
  50. Install the 8 new rear retainer bolts.
    • Tighten to 31 Nm (23 lb-ft).
      Fig 46: Locating Rear Retainer Bolts
      G08598888Courtesy of FORD MOTOR CO.

    Vehicles equipped with a flange 

  51. Using the Output Shaft Oil Seal Installer with the Handle, install a new rear output seal.
    Fig 47: Installing Rear Output Seal Using Tools
    G08598889Courtesy of FORD MOTOR CO.
  52. Using the Output Shaft Oil Slinger Installers, install a new slinger on the rear flange, if removed.
    Fig 48: Installing Slinger On Rear Flange Using Output Shaft Oil Slinger Installers
    G08598890Courtesy of FORD MOTOR CO.
  53. Using the Drive Pinion Flange Holding Fixture to prevent the flange from turning, install the rear flange and a new output nut.
    • Tighten to 251 Nm (186 lb-ft).
      Fig 49: Installing Rear Flange And Output Nut Using Tools
      G08598891Courtesy of FORD MOTOR CO.

    Vehicles equipped with a slip yoke 

  54. Using a suitable driver, install the rear output seal.

    All vehicles 

  55. NOTE: Do not use air tools or damage to the plugs or case may occur.

    Install the drain and fill plugs.

    • Tighten to 27 Nm (20 lb-ft).
      Fig 50: Locating Drain And Fill Plugs
      G08598892Courtesy of FORD MOTOR CO.
  56. Install the 3-position switch.
    • Tighten to 27 Nm (20 lb-ft).
      Fig 51: Locating Position Switch
      G08598893Courtesy of FORD MOTOR CO.
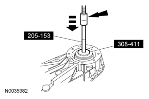
  57. Tighten the shift lever nut to 20 Nm (177 lb-in).
    Fig 52: Locating Shift Lever Nut
    G08598894Courtesy of FORD MOTOR CO.
  58. Remove the transfer case from the Transmission Holding Fixture.
    Fig 53: Removing Transfer Case From Transmission Holding Fixture
    G08598895Courtesy of FORD MOTOR CO.