LEMON Manuals: Even more car manuals for everyone: 1960-2025
Home >> Ford >> 2014 >> Transit Connect XL, Van Passenger >> Repair and Diagnosis (Single Page) >> Quick Lookups >> Wiring Diagrams >> OEM Connector End Views >> Dc To Dc Converter Control Module Connector End View (C3428)
April 5, 2026: LEMON Manuals is launched! Read the announcement.

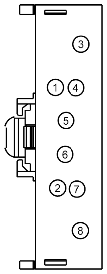
Dc To Dc Converter Control Module Connector End View (C3428)

Fig 1: Identifying DC To DC Converter Control Module Connector (C3428)
G09430382Courtesy of FORD MOTOR CO.
Pin Circuit Gauge Circuit Function Qualifier
1 VYD01 (GY-VT) 20 LIN  
2 CBR11 (BU-RD) 20 FUSE - 11 OR CIRCUIT BREAKER  
3 SYV02 (RD-YE) 6 POWER OUT  
4 VE213 (BU-WH) 20 IGNITION SWITCH SIGNAL  
5 CYD05 (YE) 12 CTRL MOD. - DC/DC CONVERTER # CHARGE PLUG PROXIMITY SENSOR  
6 GD348 (BK-YE) 4 GROUND - PILLAR C OR QUARTER PANEL RIGHT  
7 CYD05 (YE) 22 CTRL MOD. - DC/DC CONVERTER # CHARGE PLUG PROXIMITY SENSOR  
8 SYV01 (RD) 4 FUSE - 15 OR CIRCUIT BREAKER