LEMON Manuals: Even more car manuals for everyone: 1960-2025
Home >> Ford >> 2015 >> Explorer Sport >> Repair and Diagnosis >> Body & Frame >> Windows >> Window Glass, Window Frames And Window Mechanisms >> General Procedures >> Window Grid Wire Repair
April 5, 2026: LEMON Manuals is launched! Read the announcement.

Window Grid Wire Repair

Material

Item Specification
Polypropylene Film Fine Line Tape (Commercially available)
Motorcraft ® Lacquer Touch-Up Paint (match color to exterior grid wire) PMP-19500-XXXX ESR-M2P100-C
Rear Window Defroster RepairPM-11 (US); CPM-11 (Canada) -
Motorcraft ® Ultra-Clear Spray Glass Cleaner ZC-23 ESR-M14P5-A

General Procedure 

    NOTE: The grid line material is not embedded into the glass, but is baked to the glass surface and consequently can be scraped off. An undamaged grid line will have small ridges that project above the surface of the glass and can easily be felt when running a fingernail across them. Grid lines that have been "razor bladed" will feel smooth when a fingernail is dragged across the affected area. Inoperative lines may appear to the eye to be undamaged due to residue remaining on the glass and will require diagnosis with a voltmeter or 12V test lamp. Refer to Glass, Frames and Mechanisms .

  1. 1.
    Bring the vehicle up to a room temperature of at least 16 °C (60.8 °F) or above.
    NOTE: Do not use scrapers, sharp instruments or abrasive window cleaners on the interior surface of the rear window glass as this may cause damage to the grid lines.

  1. 2.
    Clean the entire grid line repair area with glass cleaner and 0000 steel wool to remove all dirt, wax, grease, oil or other foreign material.

  1. 3.

    Mark the location of the grid break on the exterior of the rear window glass.
GFD37602Courtesy of FORD MOTOR COMPANY

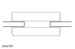
  1. 4.

    Using a polypropylene film fine line tape, mask the area directly above and below the grid break extending the tape 26 mm (1.0236 in) beyond the concern area in both directions. The break area should be at the center of the mask.
GFD37603Courtesy of FORD MOTOR COMPANY
    NOTE: Allow at least 5 minutes of drying time between applications for the touch up paint or the silver repair coating. Applying fewer coats or not allowing adequate drying time between coats will produce repaired resistance that is greater than OEM resistance, resulting in poor defrost performance and excessive localized heating.
    NOTE: If the brown layer is not broken or missing, apply only the silver grid repair compound to the break. If both the brown and silver layers of the grid are broken or missing, apply a coating of the lacquer touch up paint across the break in the grid line prior to applying the rear window defroster repair compound. Do not overlap the silver grid line with the paint. Several applications may be necessary to achieve a color match.

  1. 5.
    Apply the repair coating to the grid break area in several smooth, continuous strokes. Extend the silver repair coating at least 6.35 mm (0.25 in) on both sides of the break area. Apply a minimum of 6 applications of the grid repair compound.
GFD37604Courtesy of FORD MOTOR COMPANY
    NOTE: The repair coating air-dries in approximately one minute and can be energized after 5 minutes. Optimum adhesion occurs after approximately 24 hours.

  1. 6.
    Allow the repair area to dry completely and remove the mask.
    NOTE: Be careful not to damage the grid line with the razor blade. If this occurs, additional repair may be necessary.

  1. 7.
    Remove any excess repair compound above or below the grid line with a razor blade.
    NOTE: The interior side of the grid lines are not painted, but due to the silver tarnishing will tend to change the grid to a gold or brown color. The repair area will be bright silver and will also tarnish over time to match the rest of the grid.

  1. 8.
    Test the system for normal operation.