LEMON Manuals: Even more car manuals for everyone: 1960-2025
Home >> Ford >> 2016 >> Flex SE >> Repair and Diagnosis >> Engine Mechanical >> Mechanical >> Engine System - General Information >> General Procedures >> Piston Pin Diameter
April 5, 2026: LEMON Manuals is launched! Read the announcement.

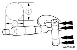
Piston Pin Diameter

NOTE: Refer to the appropriate Engine article for the specification.
GFD56523Courtesy of FORD MOTOR COMPANY