LEMON Manuals: Even more car manuals for everyone: 1960-2025
Home >> Ford >> 2017 >> Escape S >> Repair and Diagnosis >> External Pages >> Different car >> Section 395 (Interior Lighting) >> Description And Operation >> Interior Lighting - System Operation And Component Description >> System Diagram
April 5, 2026: LEMON Manuals is launched! Read the announcement.

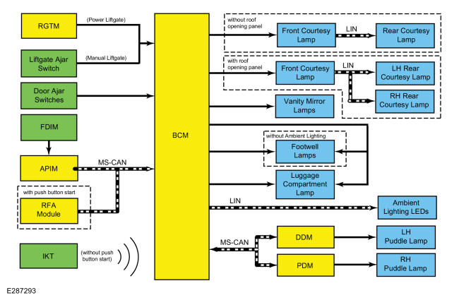
System Diagram

WARNING: This page is about a different car, the 2019 Ford Escape. However, it is still accessible from the selected car via links, so may be relevant.
GFD374005Courtesy of FORD MOTOR COMPANY